专利数据库
统计分析
产业报告
专利数据监控
产业人才
行业动态
产业政策法规
维权援助
个人中心
详情
文本
图像
标题
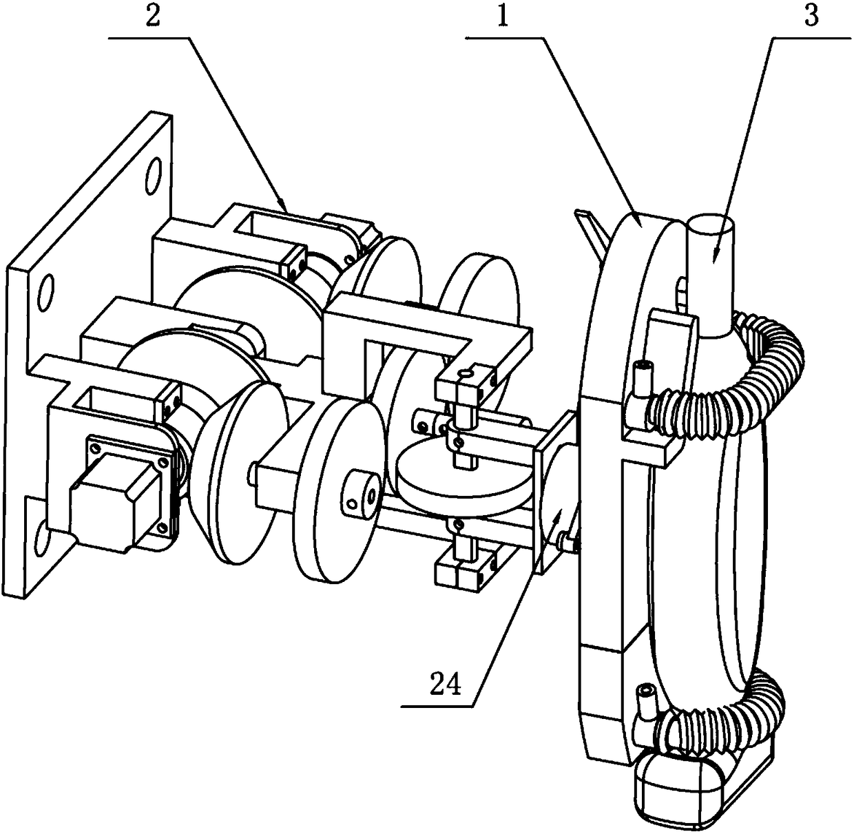
超声波探头调整机构及超声波检测机器人
授权日
1900-01-01
公开(公告)号
CN107440743A
申请日
2017-09-06
公开(公告)日
2017-12-08
当前申请(专利权)人
深圳市老年医学研究所
发明人
刘铨权 | 王春宝 | 段丽红 | 尚万峰 | 张鑫 | 申亚京 | 吴正治 | 李维平 | 孙同阳 | 石青 | 林焯华 | 侯安新 | 李利民 | 李伟光 | 夏金凤 | 李漾
简单同族
CN107440743A
简单同族成员数量
1
简单同族被引用专利总数
0
诉讼案件数
0
法律状态/事件
实质审查 | 权利转移
抱歉,您的浏览器不支持PDF预览,请点击链接下载PDF文件