专利数据库
统计分析
产业报告
专利数据监控
产业人才
行业动态
产业政策法规
维权援助
个人中心
详情
文本
图像
标题
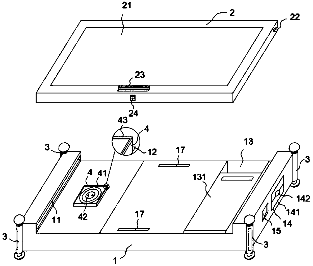
一种便携式医学超声诊断装置
授权日
2019-05-07
公开(公告)号
CN208822824U
申请日
2018-05-09
公开(公告)日
2019-05-07
当前申请(专利权)人
贵州省第二人民医院
发明人
宋大山 | 王飞 | 张信君 | 苟辉亮
简单同族
CN208822824U
简单同族成员数量
1
简单同族被引用专利总数
0
诉讼案件数
0
法律状态/事件
授权
抱歉,您的浏览器不支持PDF预览,请点击链接下载PDF文件