专利数据库
统计分析
产业报告
专利数据监控
产业人才
行业动态
产业政策法规
维权援助
个人中心
详情
文本
图像
标题
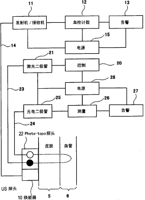
血栓检测设备、血栓治疗设备及其方法
授权日
1900-01-01
公开(公告)号
CN1878504A
申请日
2003-11-14
公开(公告)日
2006-12-13
当前申请(专利权)人
株式会社日立医药
发明人
石田一成 | 加贺干广 | 藤田直人 | 洼田纯
简单同族
CN1878504A | DE60335921D1 | EP1685800A1 | EP1685800A4 | EP1685800B1 | US20070213613A1 | US7789830 | WO2005046482A1
简单同族成员数量
8
简单同族被引用专利总数
58
诉讼案件数
0
法律状态/事件
驳回
抱歉,您的浏览器不支持PDF预览,请点击链接下载PDF文件