专利数据库
统计分析
产业报告
专利数据监控
产业人才
行业动态
产业政策法规
维权援助
个人中心
详情
文本
图像
标题
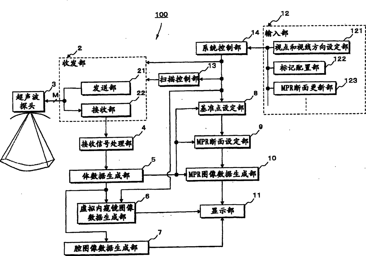
超声波诊断装置、医用图像显示装置以及医用图像显示方法
授权日
2012-11-14
公开(公告)号
CN101779969B
申请日
2010-01-21
公开(公告)日
2012-11-14
当前申请(专利权)人
东芝医疗系统株式会社
发明人
浜田贤治 | 岭喜隆 | 久我衣津纪 | 志岐荣一
简单同族
CN101779969A | CN101779969B | JP2010167032A | JP5433240B2 | US20100185094A1 | US9414807
简单同族成员数量
6
简单同族被引用专利总数
47
诉讼案件数
0
法律状态/事件
授权 | 权利转移
抱歉,您的浏览器不支持PDF预览,请点击链接下载PDF文件