专利数据库
统计分析
产业报告
专利数据监控
产业人才
行业动态
产业政策法规
维权援助
个人中心
详情
文本
图像
标题
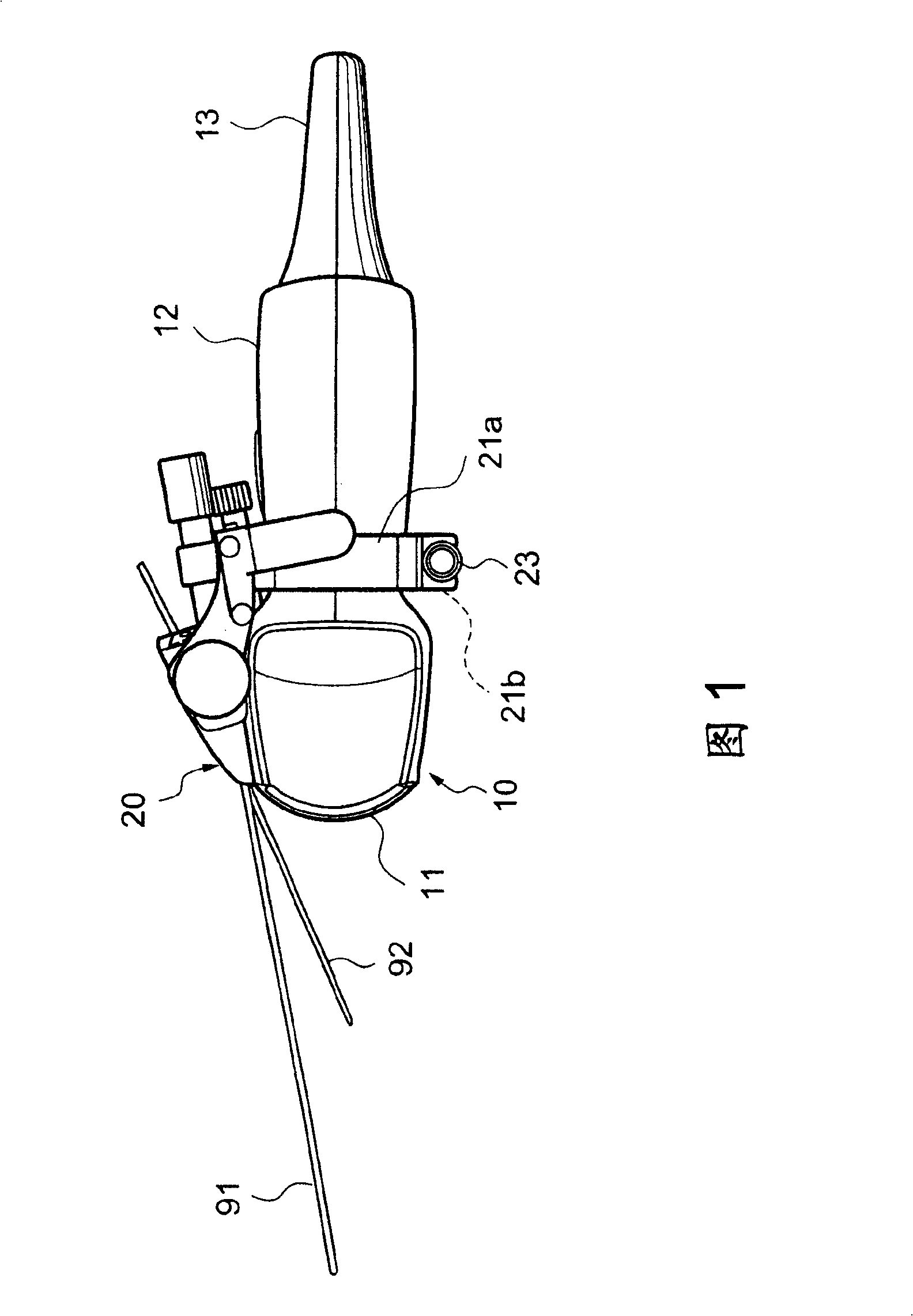
穿刺针座
授权日
2008-10-29
公开(公告)号
CN100428916C
申请日
2004-07-16
公开(公告)日
2008-10-29
当前申请(专利权)人
东芝医疗系统株式会社
发明人
小作秀树
简单同族
CN100428916C | CN100539952C | CN100998513A | CN1575776A | JP2005034273A | JP4363921B2 | US20050059891A1 | US7691066
简单同族成员数量
8
简单同族被引用专利总数
83
诉讼案件数
0
法律状态/事件
授权 | 权利转移
抱歉,您的浏览器不支持PDF预览,请点击链接下载PDF文件