专利数据库
统计分析
产业报告
专利数据监控
产业人才
行业动态
产业政策法规
维权援助
个人中心
详情
文本
图像
标题
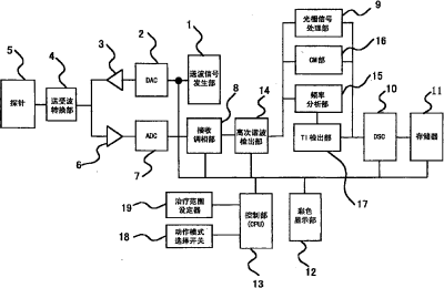
超声波治疗装置及其方法
授权日
2007-01-03
公开(公告)号
CN1292813C
申请日
2002-01-18
公开(公告)日
2007-01-03
当前申请(专利权)人
株式会社日立医药
发明人
浅房胜德
简单同族
CN1292813C | CN1487845A | JP2002209896A | JP2002209896A5 | JP4712980B2 | US20040059219A1 | US6929609 | WO2002056957A1
简单同族成员数量
8
简单同族被引用专利总数
86
诉讼案件数
0
法律状态/事件
未缴年费
抱歉,您的浏览器不支持PDF预览,请点击链接下载PDF文件