专利数据库
统计分析
产业报告
专利数据监控
产业人才
行业动态
产业政策法规
维权援助
个人中心
详情
文本
图像
标题
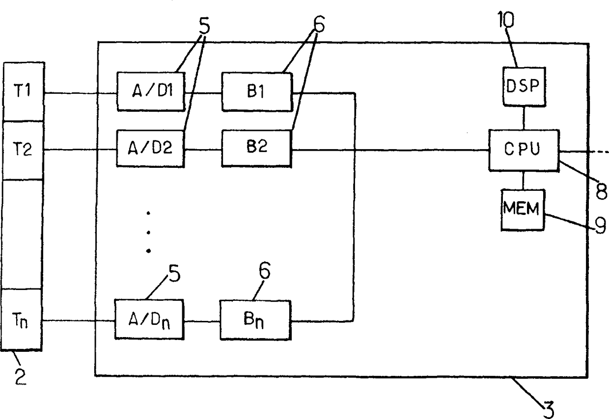
一种用于超声波合成成像的方法和装置
授权日
2012-12-12
公开(公告)号
CN101637395B
申请日
2009-03-13
公开(公告)日
2012-12-12
当前申请(专利权)人
超声成像
发明人
杰拉米·勃可夫 | 克劳德·克恩·巴克利 | 米克尔·坦特 | 玛蒂阿斯·芬克 | 卡布里尔·蒙达杜
简单同族
CA2658063A1 | CA2658063C | CN101637395A | CN101637395B | EP2101191A2 | EP2101191A3 | HK1134645A | HK1134645A1 | IL197306A | IL197306D0 | JP2009219876A | JP2016019849A | JP5888833B2 | JP6030207B2 | KR101529247B1 | KR1020090098748A | KR1020120030488A | US20090234230A1 | US9117439
简单同族成员数量
19
简单同族被引用专利总数
90
诉讼案件数
0
法律状态/事件
授权
抱歉,您的浏览器不支持PDF预览,请点击链接下载PDF文件