专利数据库
统计分析
产业报告
专利数据监控
产业人才
行业动态
产业政策法规
维权援助
个人中心
详情
文本
图像
标题
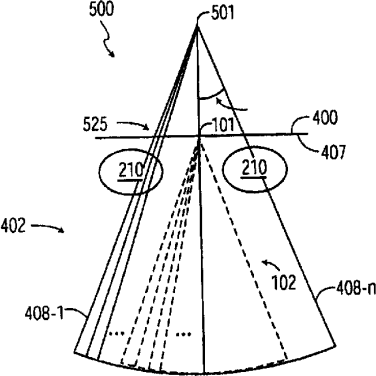
用于电子调节三维超声系统的超声扫描线原点的系统和方法
授权日
1900-01-01
公开(公告)号
CN1662827A
申请日
2003-06-10
公开(公告)日
2005-08-31
当前申请(专利权)人
皇家飞利浦电子股份有限公司
发明人
M・波兰德
简单同族
AU2003236977A1 | CN1662827A | EP1518132A1 | JP2005530544A | KR1020050013604A | US20030236461A1 | US6709395 | WO2004001447A1
简单同族成员数量
8
简单同族被引用专利总数
63
诉讼案件数
0
法律状态/事件
撤回
抱歉,您的浏览器不支持PDF预览,请点击链接下载PDF文件