专利数据库
统计分析
产业报告
专利数据监控
产业人才
行业动态
产业政策法规
维权援助
个人中心
详情
文本
图像
标题
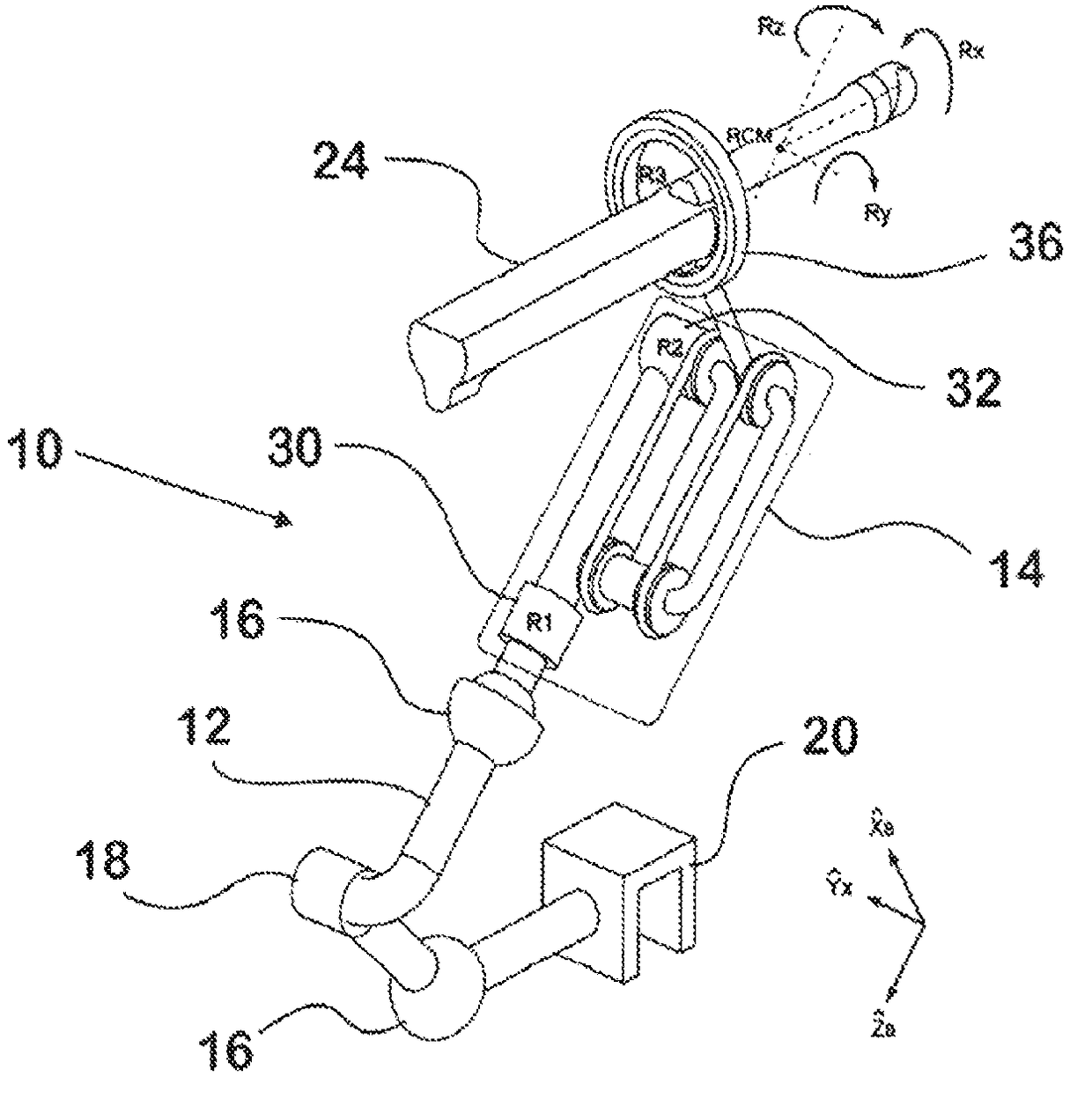
用于医学图像扫描和图像引导定位的运动机器人遥控中心
授权日
1900-01-01
公开(公告)号
CN103200877A
申请日
2011-11-11
公开(公告)日
2013-07-10
当前申请(专利权)人
约翰霍普金斯大学
发明人
丹·斯托亚诺维奇 | 多鲁·彼得里绍尔 | 菲利克斯·谢弗 | 金天祐 | 米索·韩
简单同族
CN103200877A | CN103200877B | EP2637571A2 | EP2637571A4 | EP2637571B1 | KR1020140024837A | KR102048352B1 | US20140039314A1 | WO2012065058A2 | WO2012065058A3
简单同族成员数量
10
简单同族被引用专利总数
41
诉讼案件数
0
法律状态/事件
授权
抱歉,您的浏览器不支持PDF预览,请点击链接下载PDF文件