专利数据库
统计分析
产业报告
专利数据监控
产业人才
行业动态
产业政策法规
维权援助
个人中心
详情
文本
图像
标题
多孔径超声探头的校准
授权日
1900-01-01
公开(公告)号
CN104620128A
申请日
2013-08-12
公开(公告)日
2015-05-13
当前申请(专利权)人
毛伊图像公司
发明人
J·R·卡尔 | N·W·奥斯伯恩 | A·比尔维驰 | B·R·里特兹
简单同族
CN104620128A | CN104620128B | EP2883079A1 | EP2883079A4 | EP2883079B1 | HK1206817A | HK1206817A1 | IN556DELNP2015A | JP2015528331A | JP6270843B2 | KR1020150043403A | US10064605 | US20140043933A1 | US20170112476A1 | US20190008487A1 | US9572549 | WO2014026185A1
简单同族成员数量
17
简单同族被引用专利总数
50
诉讼案件数
0
法律状态/事件
授权
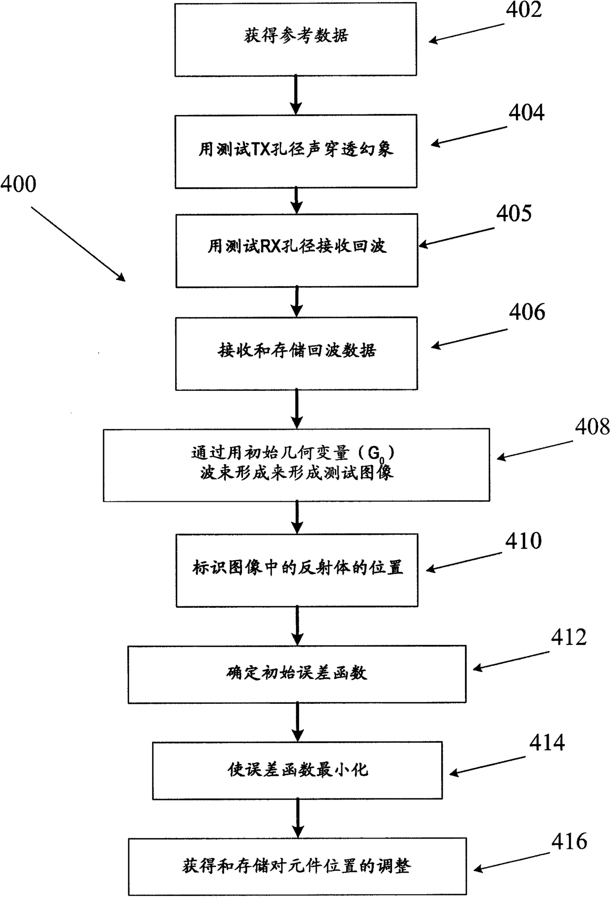
抱歉,您的浏览器不支持PDF预览,请点击链接下载PDF文件