专利数据库
统计分析
产业报告
专利数据监控
产业人才
行业动态
产业政策法规
维权援助
个人中心
详情
文本
图像
标题
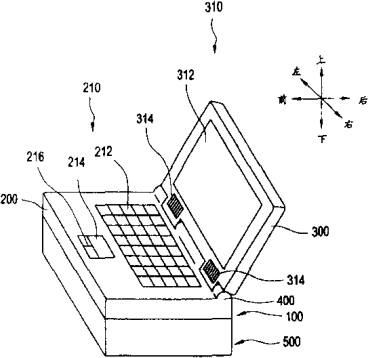
超声成像设备
授权日
1900-01-01
公开(公告)号
CN1359658A
申请日
2001-12-18
公开(公告)日
2002-07-24
当前申请(专利权)人
GE医疗系统环球技术有限公司
发明人
雨宫慎一
简单同族
CN1359658A | EP1215510A2 | EP1215510A3 | JP2002200079A | JP3828744B2 | KR1020020048888A | US20020077548A1 | US6669634
简单同族成员数量
8
简单同族被引用专利总数
42
诉讼案件数
0
法律状态/事件
放弃
抱歉,您的浏览器不支持PDF预览,请点击链接下载PDF文件