专利数据库
统计分析
产业报告
专利数据监控
产业人才
行业动态
产业政策法规
维权援助
个人中心
详情
文本
图像
标题
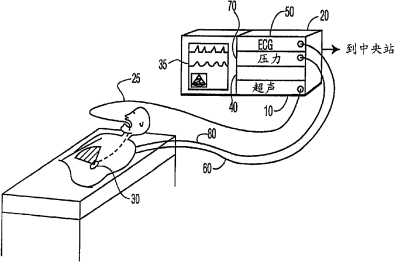
对临床患者监视功能的超声成像加强
授权日
1900-01-01
公开(公告)号
CN1688256A
申请日
2003-02-21
公开(公告)日
2005-10-26
当前申请(专利权)人
皇家飞利浦电子股份有限公司
发明人
R·D·加茨克
简单同族
AT517580T | AU2003248357A1 | CN100413470C | CN1688256A | EP1480562A1 | EP1480562B1 | JP2006505294A | US20030163045A1 | US6705992 | WO2003071951A1
简单同族成员数量
10
简单同族被引用专利总数
118
诉讼案件数
0
法律状态/事件
授权
抱歉,您的浏览器不支持PDF预览,请点击链接下载PDF文件