专利数据库
统计分析
产业报告
专利数据监控
产业人才
行业动态
产业政策法规
维权援助
个人中心
详情
文本
图像
标题
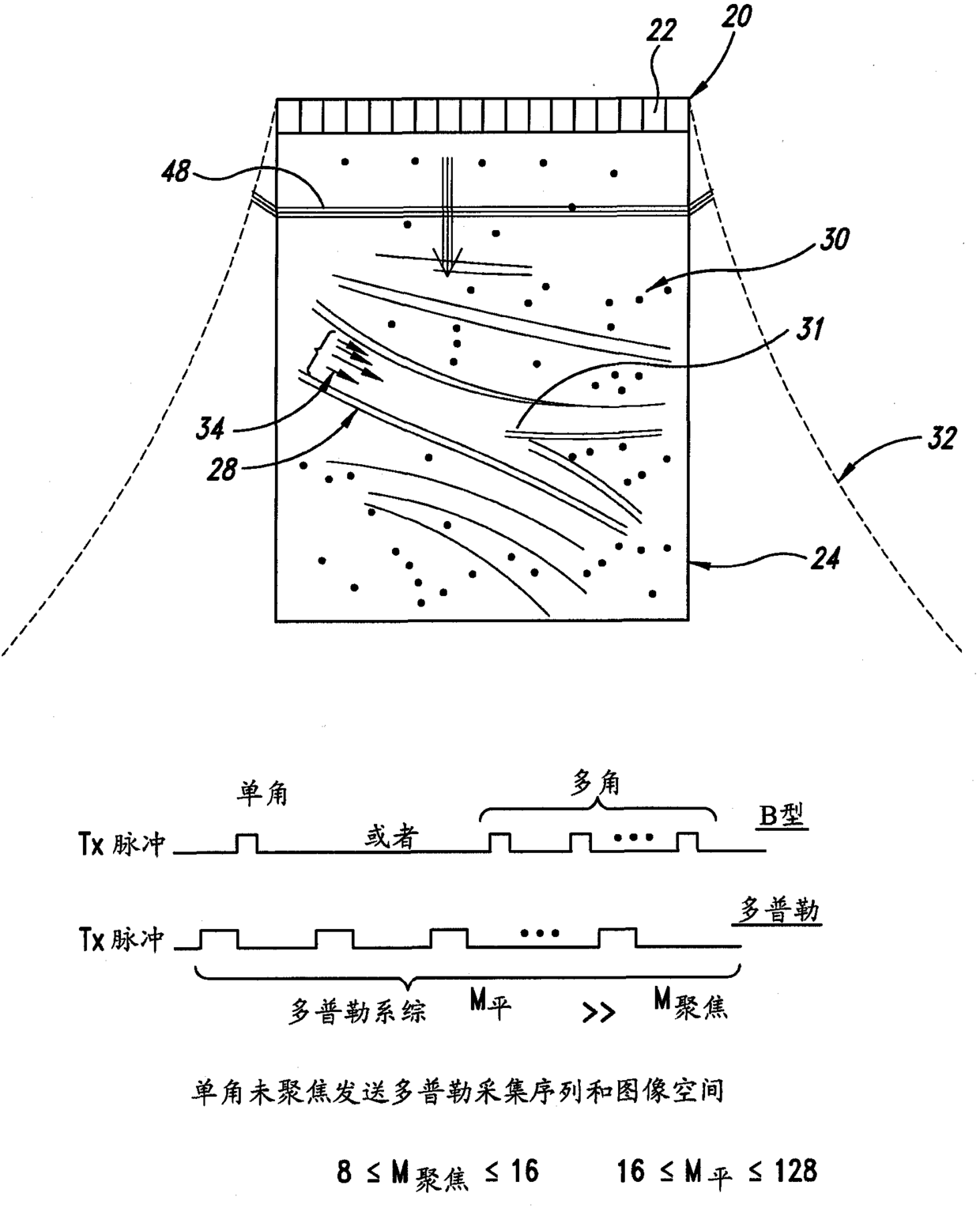
使用未聚焦发送波束的高帧率定量多普勒流成像
授权日
2015-11-25
公开(公告)号
CN102123668B
申请日
2009-06-24
公开(公告)日
2015-11-25
当前申请(专利权)人
维拉声学公司
发明人
罗纳德·埃尔文·戴格尔 | 彼得·约翰·凯克科夫斯基
简单同族
CA2728998A1 | CN102123668A | CN102123668B | DK2303131T3 | EP2303131A1 | EP2303131B1 | JP2011526181A | JP5858783B2 | KR101820422B1 | KR1020110027806A | US20090326379A1 | WO2009158399A1
简单同族成员数量
12
简单同族被引用专利总数
122
诉讼案件数
0
法律状态/事件
授权
抱歉,您的浏览器不支持PDF预览,请点击链接下载PDF文件