专利数据库
统计分析
产业报告
专利数据监控
产业人才
行业动态
产业政策法规
维权援助
个人中心
详情
文本
图像
标题
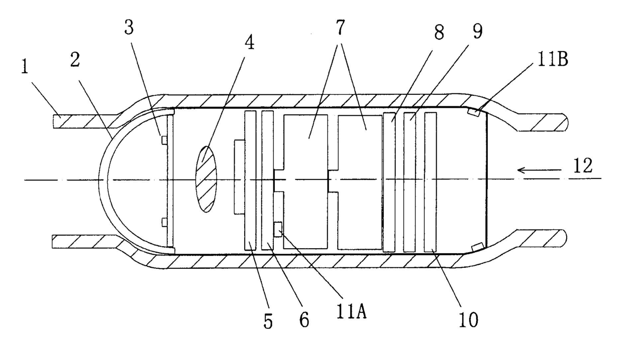
의료용 무선 캡슐형 내시경 시스템
授权日
1900-01-01
公开(公告)号
KR1020070018858A
申请日
2005-02-24
公开(公告)日
2007-02-14
当前申请(专利权)人
충칭 진산 사이언스 앤드 테크놀로지 (그룹) 컴퍼니, 리미티드
发明人
왕,진산 | 리,씨앙동
简单同族
AU2005216582A1 | AU2005216582B2 | BRPI0507232A2 | CA2558091A1 | CA2558091C | CN1284505C | CN1559337A | EA010776B1 | EA200601629A1 | EP1719446A1 | EP1719446A4 | HRP20060314A2 | JP2007523703A | JP2007523703A5 | KR101111672B1 | KR1020070018858A | NO20064387L | US20080249360A1 | WO2005082229A1 | ZA200607444B
简单同族成员数量
20
简单同族被引用专利总数
153
诉讼案件数
0
法律状态/事件
授权
抱歉,您的浏览器不支持PDF预览,请点击链接下载PDF文件