专利数据库
统计分析
产业报告
专利数据监控
产业人才
行业动态
产业政策法规
维权援助
个人中心
详情
文本
图像
标题
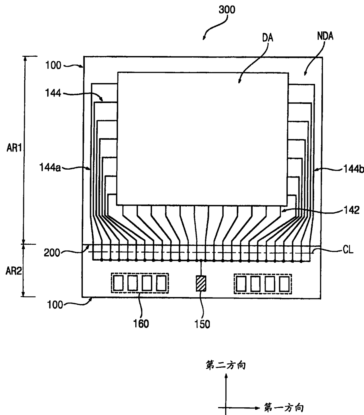
显示面板、检查该显示面板的方法及其制造方法
授权日
2011-06-29
公开(公告)号
CN101231439B
申请日
2008-01-11
公开(公告)日
2011-06-29
当前申请(专利权)人
三星显示有限公司
发明人
权善子 | 全珍 | 朴湧基
简单同族
CN101231439A | CN101231439B | EP1944648A2 | EP1944648A3 | JP2008171000A | KR1020080066308A | US20080170195A1
简单同族成员数量
7
简单同族被引用专利总数
57
诉讼案件数
0
法律状态/事件
授权 | 权利转移
抱歉,您的浏览器不支持PDF预览,请点击链接下载PDF文件