专利数据库
统计分析
产业报告
专利数据监控
产业人才
行业动态
产业政策法规
维权援助
个人中心
详情
文本
图像
标题
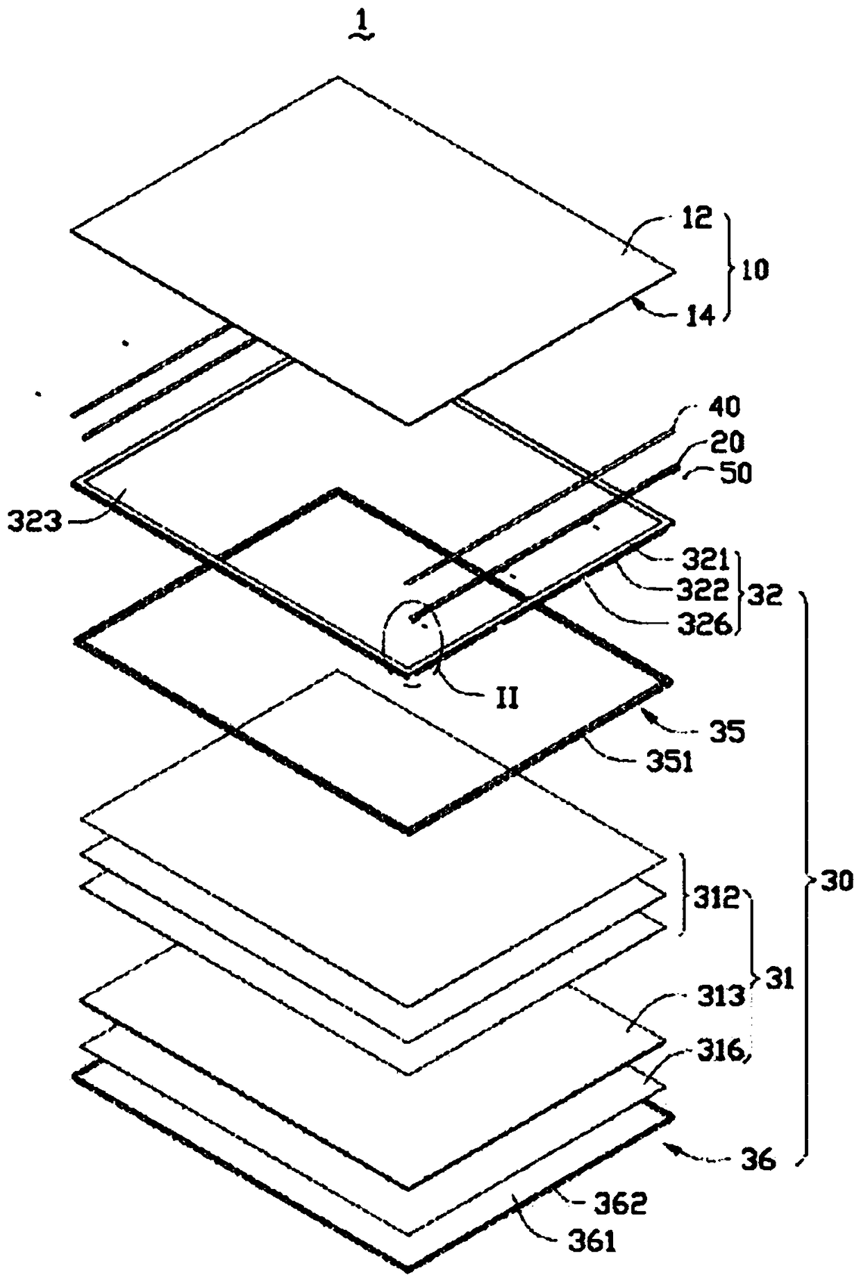
一种窄边框液晶显示装置
授权日
1900-01-01
公开(公告)号
CN108983474A
申请日
2018-08-24
公开(公告)日
2018-12-11
当前申请(专利权)人
成都航天通信设备有限责任公司
发明人
刘宽川 | 刘世捷 | 杨昊洁 | 吴越
简单同族
CN108983474A
简单同族成员数量
1
简单同族被引用专利总数
0
诉讼案件数
0
法律状态/事件
实质审查
抱歉,您的浏览器不支持PDF预览,请点击链接下载PDF文件