专利数据库
统计分析
产业报告
专利数据监控
产业人才
行业动态
产业政策法规
维权援助
个人中心
详情
文本
图像
标题
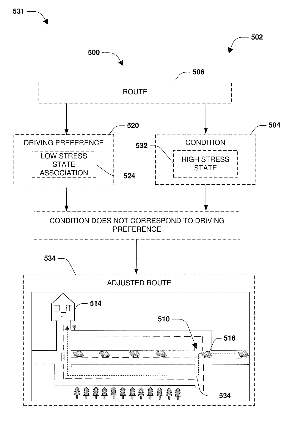
Driving profiles for autonomous vehicles
授权日
2019-09-17
公开(公告)号
US10417910
申请日
2015-03-02
公开(公告)日
2019-09-17
当前申请(专利权)人
INRIX, INC.
发明人
SCOFIELD, CHRISTOPHER L. | SEDLIK, SCOTT
简单同族
EP3113998A1 | EP3113998A4 | EP3113999A1 | EP3113999A4 | EP3114000A1 | EP3114000A4 | EP3114434A1 | EP3114434A4 | EP3114559A1 | EP3114559A4 | EP3114574A1 | EP3114574A4 | EP3114575A1 | EP3114575A4 | EP3114632A1 | EP3114632A4 | EP3114662A1 | EP3114662A4 | EP3114663A1 | EP3114663A4 | EP3114664A1 | EP3114664A4 | EP3114665A1 | EP3114665A4 | EP3114666A1 | EP3114666A4 | EP3114667A2 | EP3114667A4 | EP3114668A1 | EP3114668A4 | EP3114669A1 | EP3114669A4 | US10062280 | US10319232 | US10354527 | US10417910 | US10529231 | US10629075 | US10692370 | US20170015318A1 | US20170032673A1 | US20170068245A1 | US20170069001A1 | US20170069201A1 | US20170069205A1 | US20170070616A1 | US20170076227A1 | US20170076395A1 | US20170076509A1 | US20170076594A1 | US20170076596A1 | US20170076598A1 | US20170076600A1 | US20170084175A1 | US20170219373A1 | US20170287327A1 | US20190340926A1 | US20200013284A1 | US20200143677A1 | US9685078 | US9940836 | WO2015134311A1 | WO2015134339A1 | WO2015134339A8 | WO2015134372A1 | WO2015134376A1 | WO2015134386A2 | WO2015134386A3 | WO2015134410A1 | WO2015134417A1 | WO2015134421A1 | WO2015134425A1 | WO2015134428A1 | WO2015134434A1 | WO2015134444A1 | WO2015134453A1 | WO2015134462A1 | WO2015134476A1 | WO2015134542A1
简单同族成员数量
79
简单同族被引用专利总数
236
诉讼案件数
0
法律状态/事件
授权 | 质押
抱歉,您的浏览器不支持PDF预览,请点击链接下载PDF文件