专利数据库
统计分析
产业报告
专利数据监控
产业人才
行业动态
产业政策法规
维权援助
个人中心
详情
文本
图像
标题
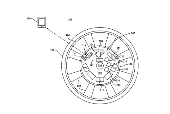
User interface for an electrically motorized vehicle
授权日
2017-07-11
公开(公告)号
US9701190
申请日
2015-04-06
公开(公告)日
2017-07-11
当前申请(专利权)人
SUPERPEDESTRIAN, INC.
发明人
BIDERMAN, ASSAF | STEVENS, JON | SIMARD, JAMES
简单同族
CA2943454A1 | EP3126184A1 | EP3126184A4 | EP3126184B1 | EP3650262A1 | HK1232837A | HK1232837A1 | US10106026 | US10166856 | US10259311 | US10543741 | US20160009169A1 | US20160009179A1 | US20160009181A1 | US20160009223A1 | US20160009293A1 | US20160009334A1 | US20160009335A1 | US20160009336A1 | US20160009337A1 | US20160009338A1 | US20160009339A1 | US20160011003A1 | US20160011598A1 | US20160011599A1 | US20160012652A1 | US20160012721A1 | US20160012723A1 | US20160014205A1 | US20160014252A1 | US20200139805A1 | US9636992 | US9636993 | US9669699 | US9669700 | US9701190 | US9738151 | US9815363 | US9878608 | US9902252 | US9931924 | US9937783 | US9944167 | WO2015154046A1
简单同族成员数量
44
简单同族被引用专利总数
137
诉讼案件数
0
法律状态/事件
授权 | 权利转移
抱歉,您的浏览器不支持PDF预览,请点击链接下载PDF文件