专利数据库
统计分析
产业报告
专利数据监控
产业人才
行业动态
产业政策法规
维权援助
个人中心
详情
文本
图像
标题
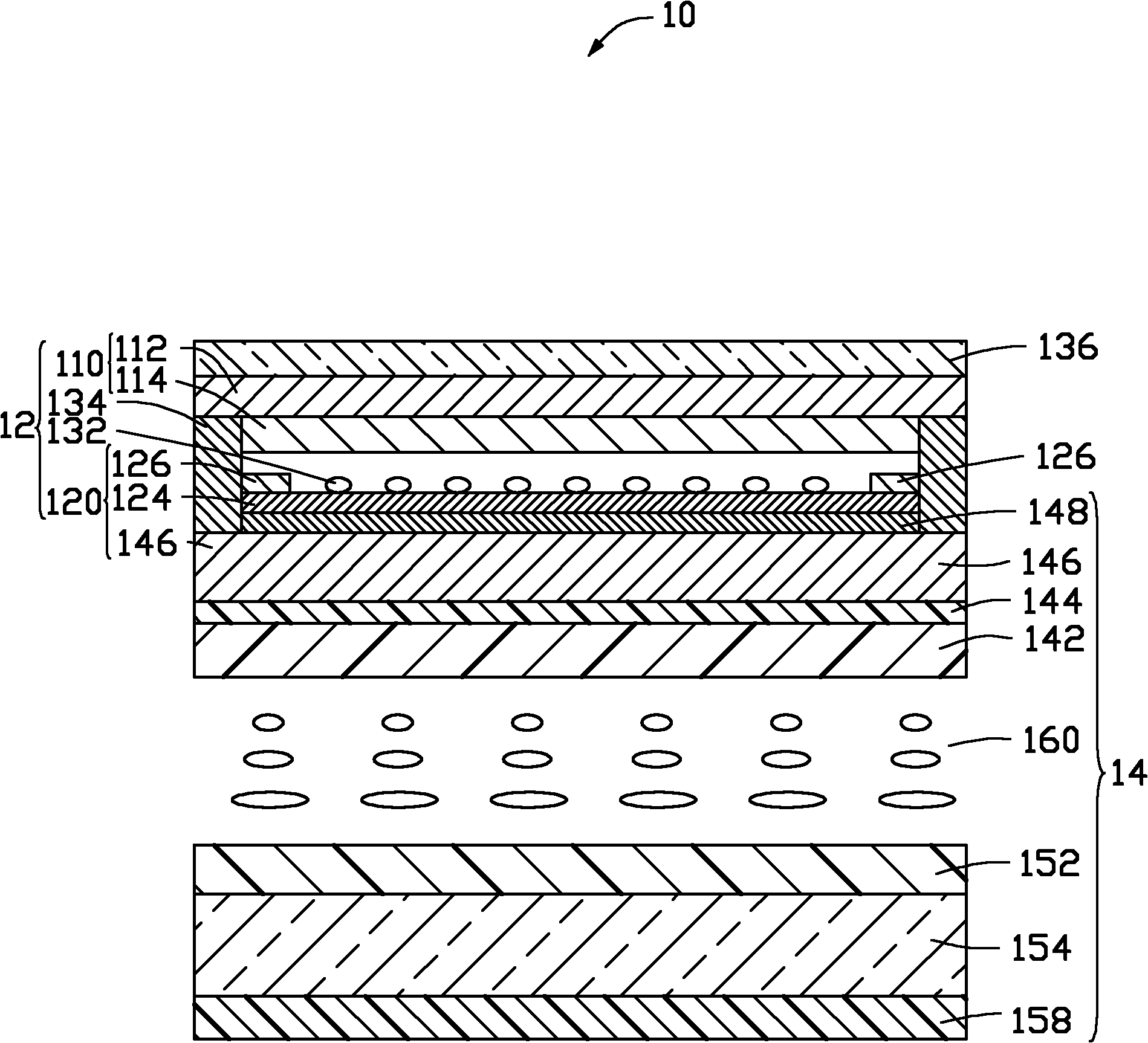
触摸式液晶显示屏
授权日
1900-01-01
公开(公告)号
CN101852935A
申请日
2010-06-02
公开(公告)日
2010-10-06
当前申请(专利权)人
北京富纳特创新科技有限公司
发明人
刘亮 | 冯辰 | 潜力
简单同族
CN101852935A | US20110299015A1 | US8416351
简单同族成员数量
3
简单同族被引用专利总数
55
诉讼案件数
0
法律状态/事件
驳回 | 复审
抱歉,您的浏览器不支持PDF预览,请点击链接下载PDF文件