专利数据库
统计分析
产业报告
专利数据监控
产业人才
行业动态
产业政策法规
维权援助
个人中心
详情
文本
图像
标题
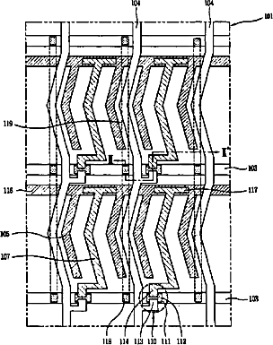
提高对比度的共平面开关模式液晶显示器件
授权日
2008-04-16
公开(公告)号
CN100381892C
申请日
2005-05-10
公开(公告)日
2008-04-16
当前申请(专利权)人
乐金显示有限公司
发明人
李敏职 | 李昌勋 | 崔熙东
简单同族
CN100381892C | CN1696769A | DE102005021267A1 | FR2870013A1 | FR2870013B1 | GB0509132D0 | GB0620924D0 | GB2414333A | GB2414333B | GB2429571A | JP2005321810A | JP4327121B2 | KR100675635B1 | KR1020050107900A | US20050259210A1 | US20090190083A1 | US7535533 | US7911577
简单同族成员数量
18
简单同族被引用专利总数
54
诉讼案件数
0
法律状态/事件
授权
抱歉,您的浏览器不支持PDF预览,请点击链接下载PDF文件