专利数据库
统计分析
产业报告
专利数据监控
产业人才
行业动态
产业政策法规
维权援助
个人中心
详情
文本
图像
标题
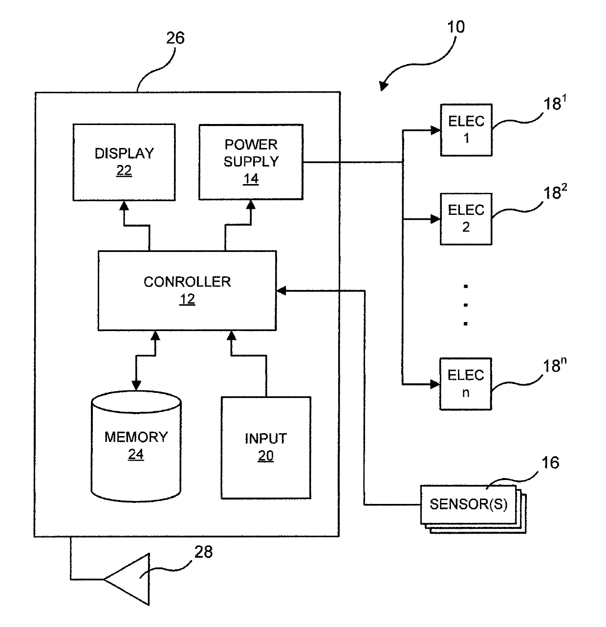
System and method employing interferential electrical stimulation to treat cardiac issues
授权日
2019-11-26
公开(公告)号
US10485977
申请日
2018-06-28
公开(公告)日
2019-11-26
当前申请(专利权)人
FEINSTEIN PATENTS, LLC
发明人
FEINSTEIN, PETER A.
简单同族
US10485977
简单同族成员数量
1
简单同族被引用专利总数
0
诉讼案件数
0
法律状态/事件
授权 | 权利转移
抱歉,您的浏览器不支持PDF预览,请点击链接下载PDF文件