专利数据库
统计分析
产业报告
专利数据监控
产业人才
行业动态
产业政策法规
维权援助
个人中心
详情
文本
图像
标题
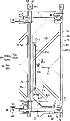
液晶显示板及薄膜晶体管阵列板
授权日
2009-11-11
公开(公告)号
CN100559251C
申请日
2005-07-27
公开(公告)日
2009-11-11
当前申请(专利权)人
三星显示有限公司
发明人
申暻周 | 李昶勋 | 朴哲佑 | 蔡钟哲
简单同族
CN100559251C | CN1755470A | EP1621924A2 | EP1621924A3 | EP1621924B1 | JP2006039567A | JP2006039567A5 | JP4791099B2 | KR101112539B1 | KR1020060010118A | TW200615619A | TWI424221B | US20060028590A1 | US7483090
简单同族成员数量
14
简单同族被引用专利总数
56
诉讼案件数
0
法律状态/事件
授权 | 权利转移
抱歉,您的浏览器不支持PDF预览,请点击链接下载PDF文件