专利数据库
统计分析
产业报告
专利数据监控
产业人才
行业动态
产业政策法规
维权援助
个人中心
详情
文本
图像
标题
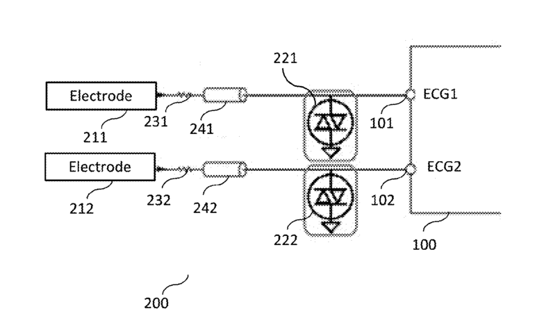
Integrated defibrillation pulse protector
授权日
2018-04-17
公开(公告)号
US9948091
申请日
2016-05-31
公开(公告)日
2018-04-17
当前申请(专利权)人
MAXIM INTEGRATED PRODUCTS, INC.
发明人
SMITH, DOUGLAS STUART | VASHCHENKO, VLADISLAV | TAZZOLI, AUGUSTO | MULPURU, SUDHIR | SKRENES, LAWRENCE RICHARD
简单同族
US9948091
简单同族成员数量
1
简单同族被引用专利总数
0
诉讼案件数
0
法律状态/事件
授权 | 权利转移
抱歉,您的浏览器不支持PDF预览,请点击链接下载PDF文件