专利数据库
统计分析
产业报告
专利数据监控
产业人才
行业动态
产业政策法规
维权援助
个人中心
详情
文本
图像
标题
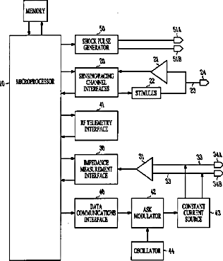
Data logging system for implantable medical device
授权日
2008-06-24
公开(公告)号
US7392090
申请日
2003-09-26
公开(公告)日
2008-06-24
当前申请(专利权)人
CARDIAC PACEMAKERS, INC.
发明人
SWEENEY, ROBERT J. | SCHEINER, AVRAM | HEIL, JR., RONALD W.
简单同族
US20020077563A1 | US20040059391A1 | US6628985 | US7392090
简单同族成员数量
4
简单同族被引用专利总数
136
诉讼案件数
0
法律状态/事件
期限届满
抱歉,您的浏览器不支持PDF预览,请点击链接下载PDF文件