专利数据库
统计分析
产业报告
专利数据监控
产业人才
行业动态
产业政策法规
维权援助
个人中心
详情
文本
图像
标题
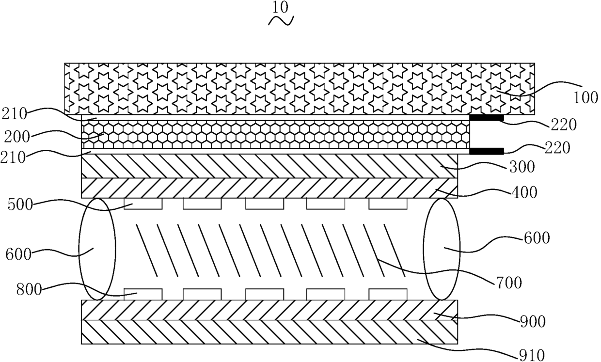
一种抗自身LCD干扰的触控液晶显示器
授权日
1900-01-01
公开(公告)号
CN104865722A
申请日
2015-04-24
公开(公告)日
2015-08-26
当前申请(专利权)人
康惠(惠州)半导体有限公司
发明人
曾新勇 | 王海
简单同族
CN104865722A
简单同族成员数量
1
简单同族被引用专利总数
0
诉讼案件数
0
法律状态/事件
驳回
抱歉,您的浏览器不支持PDF预览,请点击链接下载PDF文件