专利数据库
统计分析
产业报告
专利数据监控
产业人才
行业动态
产业政策法规
维权援助
个人中心
详情
文本
图像
标题
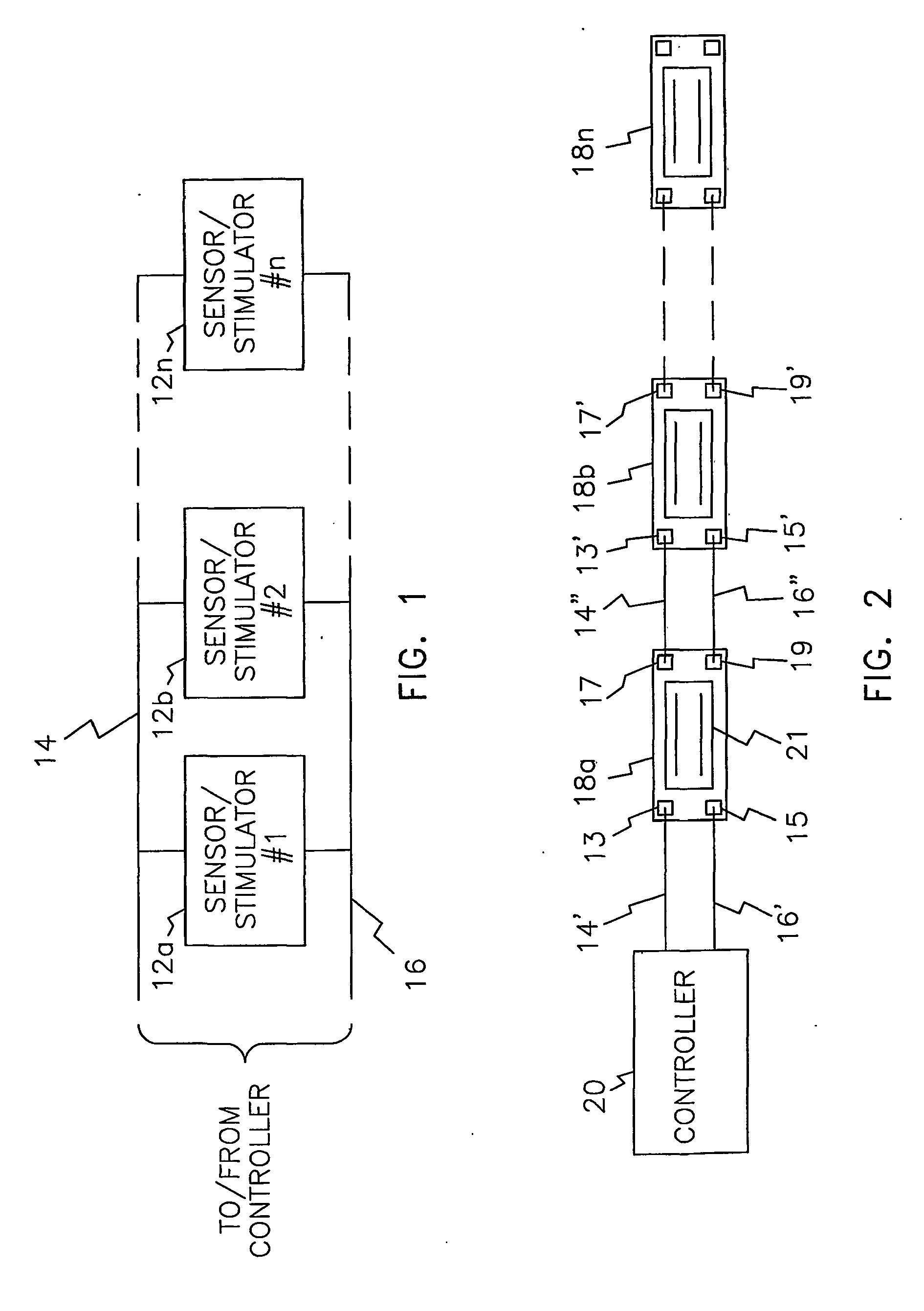
Hermetic feedthrough for an implantable device
授权日
2010-10-13
公开(公告)号
EP1408863B1
申请日
2002-05-17
公开(公告)日
2010-10-13
当前申请(专利权)人
ALFRED E. MANN FOUNDATION FOR SCIENTIFIC RESEARCH
发明人
SCHULMAN, JOSEPH, H.
简单同族
AT484235T | CA2450239A1 | CA2450239C | DE60237972D1 | EP1408863A1 | EP1408863A4 | EP1408863B1 | JP2004533302A | JP4115931B2 | US20010039374A1 | US6516808 | WO2002102267A1
简单同族成员数量
12
简单同族被引用专利总数
223
诉讼案件数
0
法律状态/事件
授权
抱歉,您的浏览器不支持PDF预览,请点击链接下载PDF文件