专利数据库
统计分析
产业报告
专利数据监控
产业人才
行业动态
产业政策法规
维权援助
个人中心
详情
文本
图像
标题
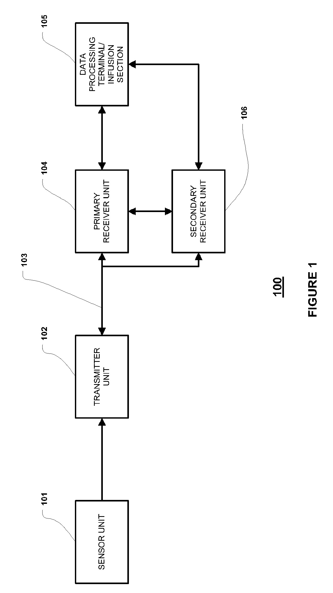
Close proximity communication device and methods
授权日
2016-11-30
公开(公告)号
EP2280636B1
申请日
2009-05-28
公开(公告)日
2016-11-30
当前申请(专利权)人
ABBOTT DIABETES CARE INC.
发明人
SICURELLO, JEFFREY | SLOAN, MARK, K.
简单同族
AU2009251276A1 | AU2009251276B2 | CA2725905A1 | CN102112046A | CN102112046B | CN103908261A | CN103908261B | DE202009019053U1 | EP2280636A1 | EP2280636A4 | EP2280636B1 | EP3187102A1 | EP3187102B1 | JP2011521726A | US20090296742A1 | US20110044333A1 | US20130314247A1 | US20140233397A1 | US20160028507A1 | US20180309540A1 | US20200076533A1 | US7826382 | US8509107 | US8737259 | US9184875 | US9831985 | WO2009146391A1
简单同族成员数量
27
简单同族被引用专利总数
174
诉讼案件数
0
法律状态/事件
授权 | 权利转移 | 异议
抱歉,您的浏览器不支持PDF预览,请点击链接下载PDF文件