专利数据库
统计分析
产业报告
专利数据监控
产业人才
行业动态
产业政策法规
维权援助
个人中心
详情
文本
图像
标题
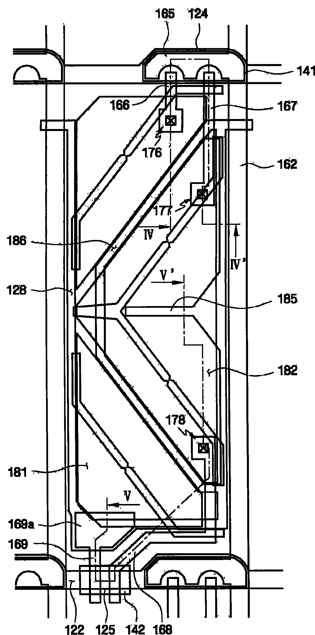
液晶显示器
授权日
2010-10-27
公开(公告)号
CN101114094B
申请日
2007-07-30
公开(公告)日
2010-10-27
当前申请(专利权)人
三星显示有限公司
发明人
安顺一
简单同族
CN101114094A | CN101114094B | JP2008033218A | JP5190583B2 | KR101295298B1 | KR1020080010987A | US20080024689A1 | US7532269
简单同族成员数量
8
简单同族被引用专利总数
121
诉讼案件数
0
法律状态/事件
授权 | 权利转移
抱歉,您的浏览器不支持PDF预览,请点击链接下载PDF文件