专利数据库
统计分析
产业报告
专利数据监控
产业人才
行业动态
产业政策法规
维权援助
个人中心
详情
文本
图像
标题
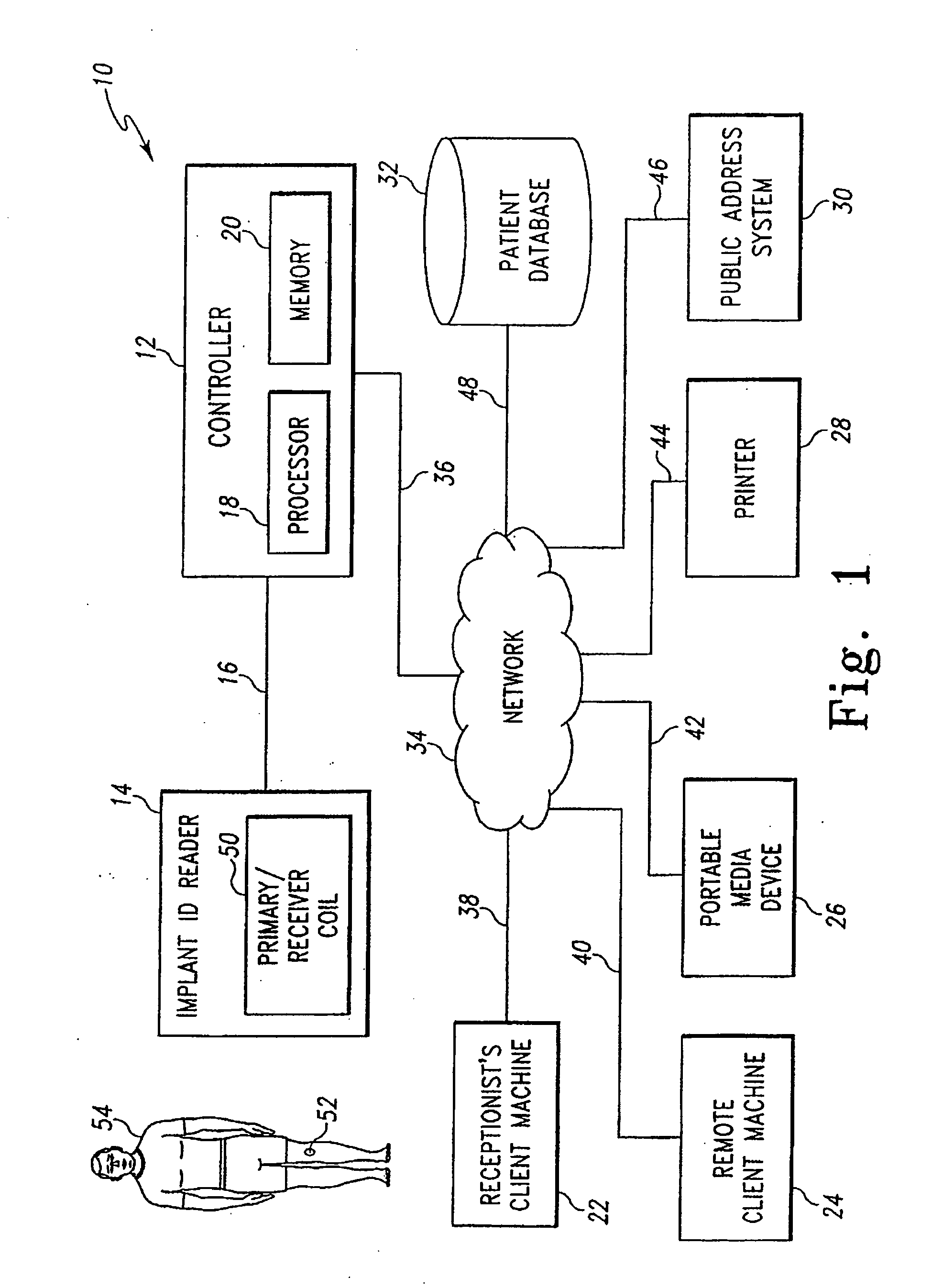
System for transmitting orthopaedic implant data
授权日
2011-01-05
公开(公告)号
EP2181671B1
申请日
2007-04-10
公开(公告)日
2011-01-05
当前申请(专利权)人
DEPUY PRODUCTS, INC.
发明人
DISILVESTRO, MARK R. | SHERMAN, JASON T. | CAYLOR III, EDWARD J
简单同族
AT493947T | AT534347T | DE602007011838D1 | EP1842509A2 | EP1842509A3 | EP2181671A1 | EP2181671B1 | EP2263610A1 | EP2263610B1 | US10172551 | US20070239282A1 | US20120071735A1 | US20140379376A1 | US20190239802A1 | US8075627 | US8668742
简单同族成员数量
16
简单同族被引用专利总数
141
诉讼案件数
0
法律状态/事件
授权
抱歉,您的浏览器不支持PDF预览,请点击链接下载PDF文件