专利数据库
统计分析
产业报告
专利数据监控
产业人才
行业动态
产业政策法规
维权援助
个人中心
详情
文本
图像
标题
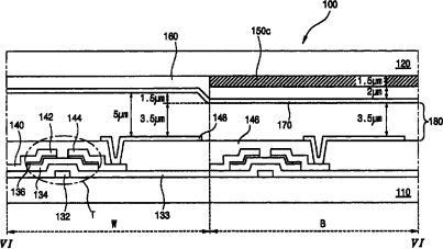
液晶显示装置及其驱动方法
授权日
1900-01-01
公开(公告)号
CN1885399A
申请日
2006-06-15
公开(公告)日
2006-12-27
当前申请(专利权)人
乐金显示有限公司
发明人
柳淑敬
简单同族
CN100524441C | CN1885399A | DE102006027392A1 | DE102006027392B4 | JP2007004172A | JP4579874B2 | KR101256965B1 | KR1020060134260A | TW200701154A | TWI344123B | US20060290831A1 | US8013818
简单同族成员数量
12
简单同族被引用专利总数
51
诉讼案件数
0
法律状态/事件
授权
抱歉,您的浏览器不支持PDF预览,请点击链接下载PDF文件