专利数据库
统计分析
产业报告
专利数据监控
产业人才
行业动态
产业政策法规
维权援助
个人中心
详情
文本
图像
标题
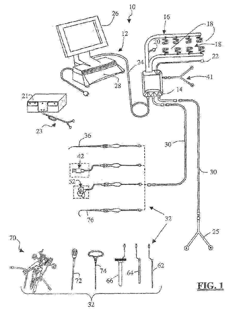
System and methods for performing neurophysiologic assessments during spine surgery
授权日
1900-01-01
公开(公告)号
EP2409641A1
申请日
2006-02-02
公开(公告)日
2012-01-25
当前申请(专利权)人
NUVASIVE, INC.
发明人
GHARIB, JAMES | FARQUHAR, ALLEN | LAYMAN, DOUG | BALZER, JEFF | CALANCIE, BLAIR
简单同族
AT527017T | EP1846094A2 | EP1846094A4 | EP1846094B1 | EP2409641A1 | EP2409641B1 | US10362957 | US20090177112A1 | US20170007145A1 | US20170303811A1 | US20190307354A1 | US9700228 | WO2006084193A2 | WO2006084193A3 | WO2006084193A9
简单同族成员数量
15
简单同族被引用专利总数
141
诉讼案件数
0
法律状态/事件
授权
抱歉,您的浏览器不支持PDF预览,请点击链接下载PDF文件