专利数据库
统计分析
产业报告
专利数据监控
产业人才
行业动态
产业政策法规
维权援助
个人中心
详情
文本
图像
标题
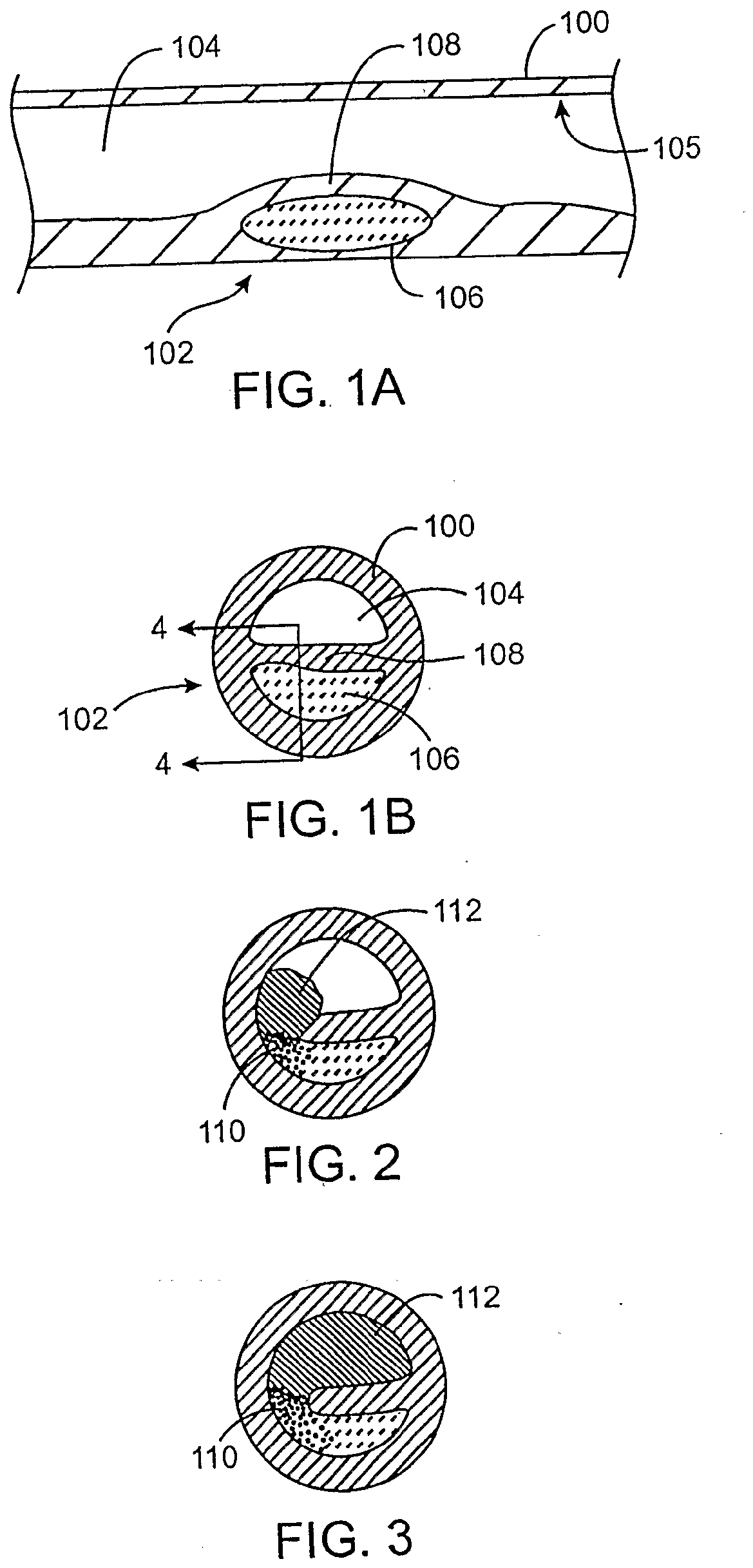
Cryotherapy catheter for detecting and treating vulnerable plaque
授权日
2018-02-21
公开(公告)号
EP2255740B1
申请日
2001-08-17
公开(公告)日
2018-02-21
当前申请(专利权)人
CRYOVASCULAR SYSTEMS, INC.
发明人
JOYE, JAMES | TATSUTANI, KRISTINE
简单同族
AT481934T | AU2001088295A1 | CA2419645A1 | DE60143119D1 | EP1311201A1 | EP1311201A4 | EP1311201B1 | EP2255740A1 | EP2255740B1 | JP2004506470A | JP2004506470A5 | JP4845330B2 | US6602246 | WO2002015807A1 | WO2002015807A9
简单同族成员数量
15
简单同族被引用专利总数
157
诉讼案件数
0
法律状态/事件
授权
抱歉,您的浏览器不支持PDF预览,请点击链接下载PDF文件