专利数据库
统计分析
产业报告
专利数据监控
产业人才
行业动态
产业政策法规
维权援助
个人中心
详情
文本
图像
标题
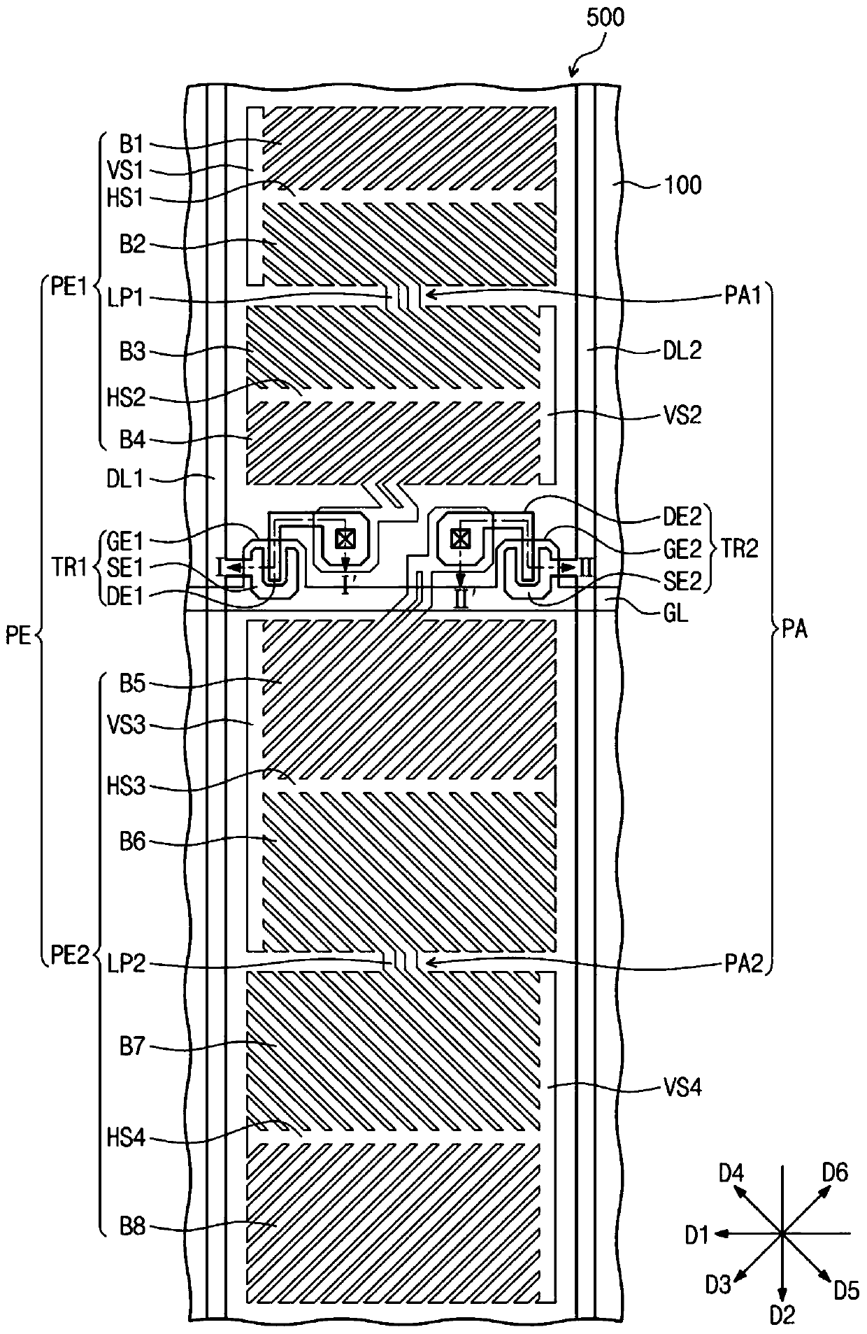
液晶显示器
授权日
1900-01-01
公开(公告)号
CN110850645A
申请日
2014-07-30
公开(公告)日
2020-02-28
当前申请(专利权)人
三星显示有限公司
发明人
任完淳 | 朴旻昱 | 禹修完 | 朴殷吉 | 孙正万 | 太昌一 | 朴基凡 | 金璟陪 | 朴帝亨 | 朴柱焕 | 徐裕悳 | 梁承浩 | 吴世埈 | 李熙焕
简单同族
CN104345500A | CN104345500B | CN110850645A | CN110850646A | CN110941121A | EP2833200A1 | EP2833200B1 | JP2015031961A | JP6448245B2 | US10712596 | US20150036073A1
简单同族成员数量
11
简单同族被引用专利总数
122
诉讼案件数
0
法律状态/事件
实质审查
抱歉,您的浏览器不支持PDF预览,请点击链接下载PDF文件