专利数据库
统计分析
产业报告
专利数据监控
产业人才
行业动态
产业政策法规
维权援助
个人中心
详情
文本
图像
标题
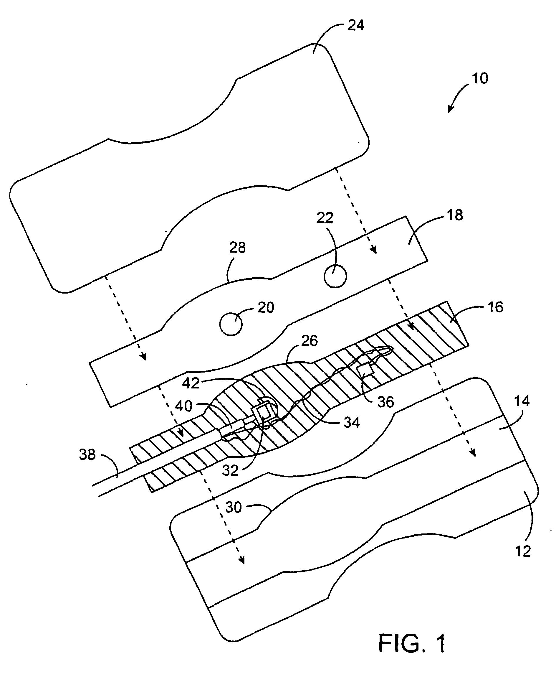
Pulse oximeter sensor with widened metal strip
授权日
2005-01-19
公开(公告)号
EP1231857B1
申请日
2000-11-01
公开(公告)日
2005-01-19
当前申请(专利权)人
MALLINCKRODT INC.
发明人
CHIN, RODNEY
简单同族
AT287237T | AT506001T | CA2392219A1 | DE60017585D1 | DE60017585T2 | DE60045876D1 | EP1231857A1 | EP1231857B1 | EP1502539A2 | EP1502539A3 | EP1502539B1 | ES2235989T3 | ES2362727T3 | JP2003514606A | JP4605967B2 | US20020038082A1 | US6694160 | WO2001037725A1
简单同族成员数量
18
简单同族被引用专利总数
148
诉讼案件数
0
法律状态/事件
权利终止
抱歉,您的浏览器不支持PDF预览,请点击链接下载PDF文件