专利数据库
统计分析
产业报告
专利数据监控
产业人才
行业动态
产业政策法规
维权援助
个人中心
详情
文本
图像
标题
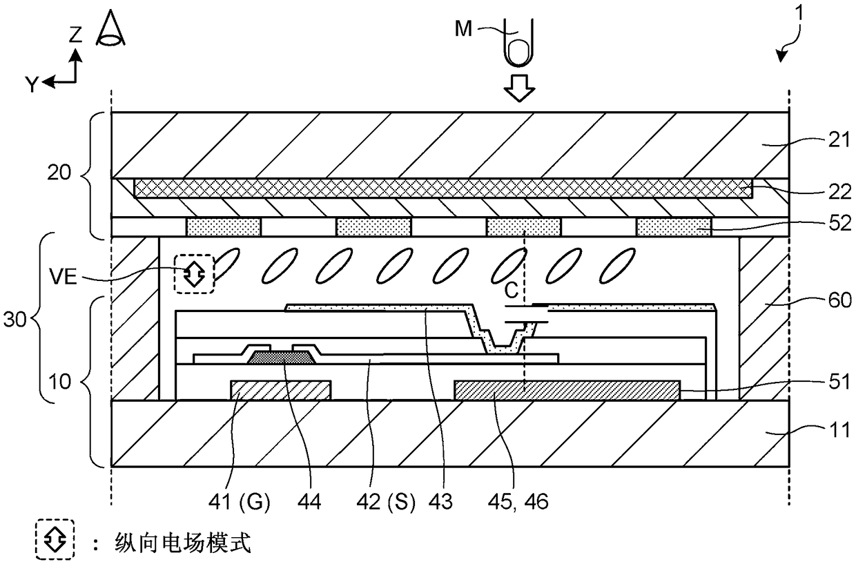
带触摸传感器的液晶显示装置以及电子设备
授权日
1900-01-01
公开(公告)号
CN103576360A
申请日
2013-07-23
公开(公告)日
2014-02-12
当前申请(专利权)人
株式会社日本显示器
发明人
古谷直祐 | 仓泽隼人 | 林真人
简单同族
CN103576360A | CN103576360B | JP2014041603A | JP6050728B2 | KR101486150B1 | KR1020140013970A | TW201409117A | TWI509320B | US10146368 | US10452193 | US20140028616A1 | US20150293639A1 | US20170010747A1 | US20170322668A1 | US20190073084A1 | US20200012380A1 | US9092105 | US9477341 | US9746958
简单同族成员数量
19
简单同族被引用专利总数
108
诉讼案件数
0
法律状态/事件
授权
抱歉,您的浏览器不支持PDF预览,请点击链接下载PDF文件