专利数据库
统计分析
产业报告
专利数据监控
产业人才
行业动态
产业政策法规
维权援助
个人中心
详情
文本
图像
标题
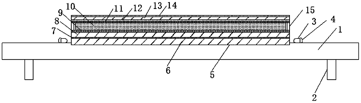
一种用于移动终端的超薄液晶显示模组
授权日
2020-06-23
公开(公告)号
CN210835530U
申请日
2019-12-13
公开(公告)日
2020-06-23
当前申请(专利权)人
东莞而基毕电子科技有限公司
发明人
季云飞 | 杨建
简单同族
CN210835530U
简单同族成员数量
1
简单同族被引用专利总数
0
诉讼案件数
0
法律状态/事件
授权
抱歉,您的浏览器不支持PDF预览,请点击链接下载PDF文件