专利数据库
统计分析
产业报告
专利数据监控
产业人才
行业动态
产业政策法规
维权援助
个人中心
详情
文本
图像
标题
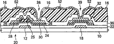
液晶显示装置用基板及具有其的液晶显示装置及制造方法
授权日
1900-01-01
公开(公告)号
CN1462902A
申请日
2003-05-30
公开(公告)日
2003-12-24
当前申请(专利权)人
富士通株式会社 | 夏普株式会社
发明人
土井诚児 | 藤川彻也 | 伊丹直滋 | 田中义规 | 星野淳之 | 黑泽纪雄
简单同族
CN1252519C | CN1462902A | KR100849771B1 | KR1020030094015A | TW200403504A | TWI227806B | US20040001174A1 | US20050157237A1 | US6882394 | US7692740
简单同族成员数量
10
简单同族被引用专利总数
58
诉讼案件数
0
法律状态/事件
授权 | 权利转移
抱歉,您的浏览器不支持PDF预览,请点击链接下载PDF文件