专利数据库
统计分析
产业报告
专利数据监控
产业人才
行业动态
产业政策法规
维权援助
个人中心
详情
文本
图像
标题
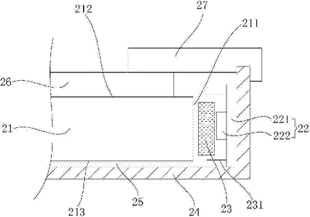
背光模组及液晶显示器
授权日
2017-02-15
公开(公告)号
CN103499054B
申请日
2013-10-11
公开(公告)日
2017-02-15
当前申请(专利权)人
深圳市华星光电技术有限公司
发明人
李全
简单同族
CN103499054A | CN103499054B | WO2015051557A1
简单同族成员数量
3
简单同族被引用专利总数
58
诉讼案件数
0
法律状态/事件
授权
抱歉,您的浏览器不支持PDF预览,请点击链接下载PDF文件