专利数据库
统计分析
产业报告
专利数据监控
产业人才
行业动态
产业政策法规
维权援助
个人中心
详情
文本
图像
标题
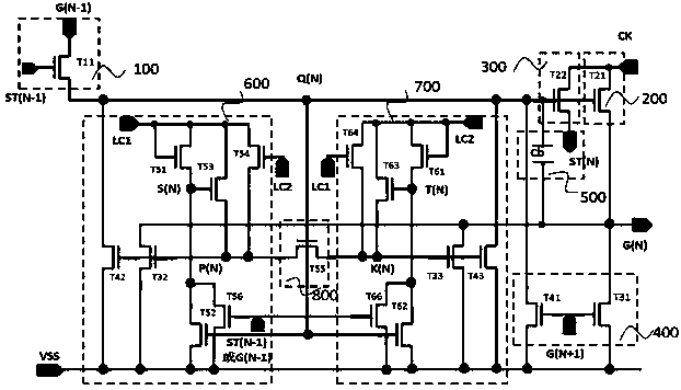
一种用于液晶显示的GOA电路及液晶显示装置
授权日
2016-01-20
公开(公告)号
CN103928007B
申请日
2014-04-21
公开(公告)日
2016-01-20
当前申请(专利权)人
TCL华星光电技术有限公司
发明人
戴超 | 肖军城
简单同族
CN103928007A | CN103928007B | US20160275886A1 | US9454940 | WO2015161513A1
简单同族成员数量
5
简单同族被引用专利总数
96
诉讼案件数
0
法律状态/事件
授权
抱歉,您的浏览器不支持PDF预览,请点击链接下载PDF文件