专利数据库
统计分析
产业报告
专利数据监控
产业人才
行业动态
产业政策法规
维权援助
个人中心
详情
文本
图像
标题
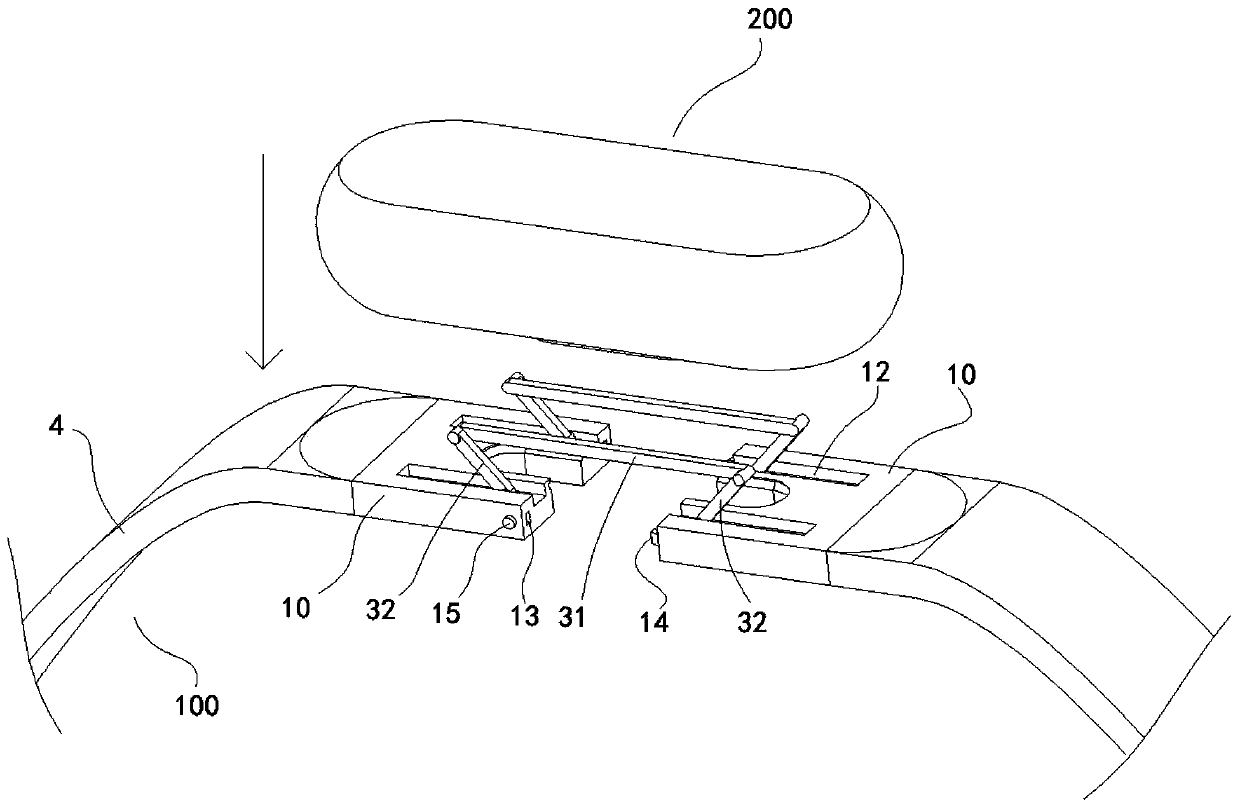
一种连接组件和具有该连接组件的穿戴设备
授权日
1900-01-01
公开(公告)号
CN110657336A
申请日
2019-09-27
公开(公告)日
2020-01-07
当前申请(专利权)人
歌尔股份有限公司
发明人
孙施展 | 陈重光 | 董科 | 于文豪 | 杨骁 | 唐伟 | 刘若宇 | 秦泗明
简单同族
CN110657336A
简单同族成员数量
1
简单同族被引用专利总数
0
诉讼案件数
0
法律状态/事件
实质审查
抱歉,您的浏览器不支持PDF预览,请点击链接下载PDF文件