专利数据库
统计分析
产业报告
专利数据监控
产业人才
行业动态
产业政策法规
维权援助
个人中心
详情
文本
图像
标题
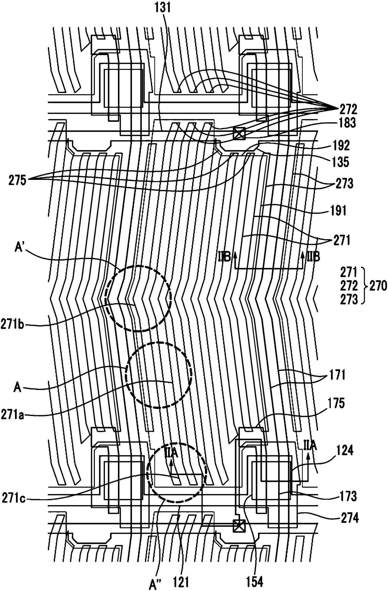
液晶显示器件
授权日
1900-01-01
公开(公告)号
CN105116638A
申请日
2010-12-20
公开(公告)日
2015-12-02
当前申请(专利权)人
三星显示有限公司
发明人
宋长根 | 咸然植 | 金康佑 | 全渊文 | 李正贤
简单同族
CN102103295A | CN102103295B | CN105116638A | CN105116638B | JP2011128618A | JP2014178714A | JP5774846B2 | JP6181005B2 | TW201133072A | TW201602684A | TWI509317B | TWI561895B | US10488726 | US20110149186A1 | US20140313447A1 | US20170261829A1 | US20190285956A1 | US8804081 | US9664968
简单同族成员数量
19
简单同族被引用专利总数
59
诉讼案件数
0
法律状态/事件
授权
抱歉,您的浏览器不支持PDF预览,请点击链接下载PDF文件