专利数据库
统计分析
产业报告
专利数据监控
产业人才
行业动态
产业政策法规
维权援助
个人中心
详情
文本
图像
标题
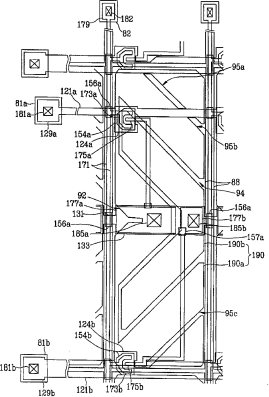
液晶显示器
授权日
2009-12-23
公开(公告)号
CN100573282C
申请日
2006-04-13
公开(公告)日
2009-12-23
当前申请(专利权)人
三星显示有限公司
发明人
金东奎
简单同族
CN100573282C | CN1847964A | JP2006293373A | JP5027437B2 | KR101188601B1 | KR1020060108931A | TW200702859A | TWI432853B | US20060231838A1 | US20110006974A1 | US20110221737A1 | US20130300641A1 | US7796104 | US7969396 | US8487849 | US8717267
简单同族成员数量
16
简单同族被引用专利总数
131
诉讼案件数
0
法律状态/事件
未缴年费 | 权利转移
抱歉,您的浏览器不支持PDF预览,请点击链接下载PDF文件