专利数据库
统计分析
产业报告
专利数据监控
产业人才
行业动态
产业政策法规
维权援助
个人中心
详情
文本
图像
标题
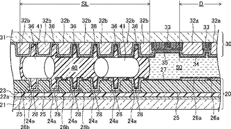
液晶显示装置
授权日
2017-03-29
公开(公告)号
CN104335111B
申请日
2013-04-22
公开(公告)日
2017-03-29
当前申请(专利权)人
夏普株式会社
发明人
森胁弘幸
简单同族
CN104335111A | CN104335111B | EP2857894A1 | EP2857894A4 | JP5857125B2 | JPWO2013175709A1 | KR1020150020204A | SG11201407574RA | US20150131041A1 | US9448441 | WO2013175709A1
简单同族成员数量
11
简单同族被引用专利总数
57
诉讼案件数
0
法律状态/事件
授权
抱歉,您的浏览器不支持PDF预览,请点击链接下载PDF文件