专利数据库
统计分析
产业报告
专利数据监控
产业人才
行业动态
产业政策法规
维权援助
个人中心
详情
文本
图像
标题
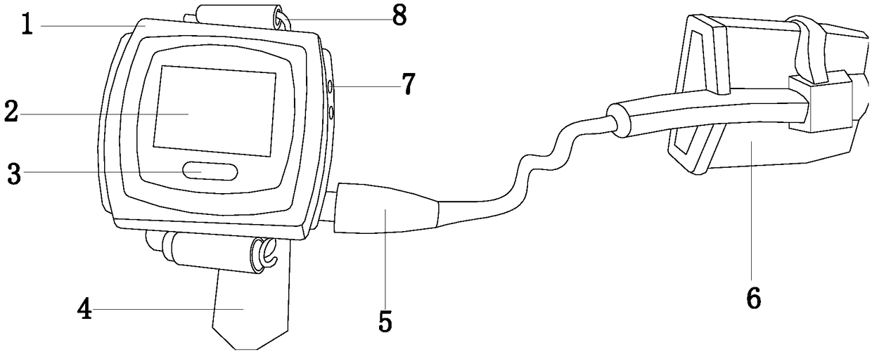
一种基于HBC的预防癫痫发作的穿戴式医疗设备
授权日
1900-01-01
公开(公告)号
CN108392178A
申请日
2018-01-03
公开(公告)日
2018-08-14
当前申请(专利权)人
隆三妹
发明人
尹兴政 | 丁爱芳 | 苏莉莉 | 王明伟
简单同族
CN108392178A
简单同族成员数量
1
简单同族被引用专利总数
0
诉讼案件数
0
法律状态/事件
实质审查 | 权利转移
抱歉,您的浏览器不支持PDF预览,请点击链接下载PDF文件