专利数据库
统计分析
产业报告
专利数据监控
产业人才
行业动态
产业政策法规
维权援助
个人中心
详情
文本
图像
标题
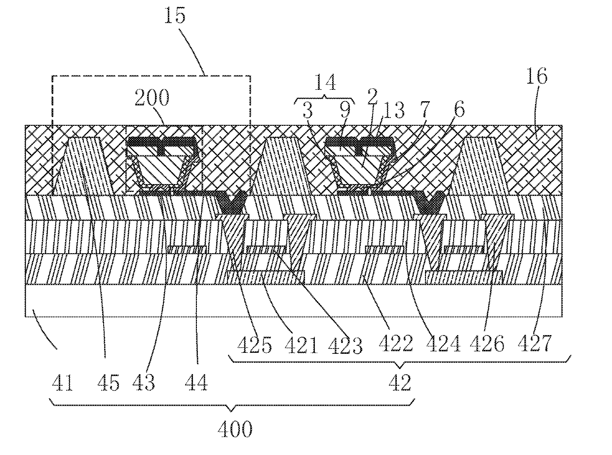
Micro light-emitting-diode display panel and manufacturing method thereof
授权日
1900-01-01
公开(公告)号
US20190189604A1
申请日
2019-02-25
公开(公告)日
2019-06-20
当前申请(专利权)人
SHENZHEN CHINA STAR OPTOELECTRONICS TECHNOLOGY CO., LTD.
发明人
LU, MACAI
简单同族
CN107170773A | CN107170773B | EP3640990A1 | JP2020521180A | KR1020200011964A | US10269779 | US10424569 | US20180342492A1 | US20190189604A1 | WO2018214199A1
简单同族成员数量
10
简单同族被引用专利总数
9
诉讼案件数
0
法律状态/事件
授权 | 权利转移
抱歉,您的浏览器不支持PDF预览,请点击链接下载PDF文件