专利数据库
统计分析
产业报告
专利数据监控
产业人才
行业动态
产业政策法规
维权援助
个人中心
详情
文本
图像
标题
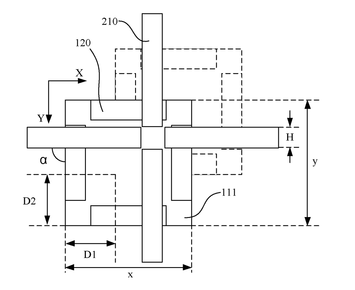
Light-emitting unit and display device
授权日
1900-01-01
公开(公告)号
US20190019447A1
申请日
2018-01-09
公开(公告)日
2019-01-17
当前申请(专利权)人
SHANGHAI TIANMA MICRO-ELECTRONICS CO., LTD.
发明人
GAO, CHAOMIN | DING, YUAN | LI, FEI
简单同族
CN107170880A | CN107170880B | US10223963 | US20190019447A1
简单同族成员数量
4
简单同族被引用专利总数
0
诉讼案件数
0
法律状态/事件
授权 | 权利转移
抱歉,您的浏览器不支持PDF预览,请点击链接下载PDF文件