专利数据库
统计分析
产业报告
专利数据监控
产业人才
行业动态
产业政策法规
维权援助
个人中心
详情
文本
图像
标题
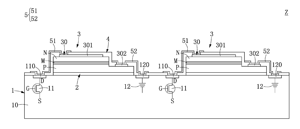
Micro LED display and method of manufacturing the same
授权日
1900-01-01
公开(公告)号
US20190319064A1
申请日
2018-10-08
公开(公告)日
2019-10-17
当前申请(专利权)人
ASTI GLOBAL INC., TAIWAN
发明人
LIAO, CHIEN-SHOU
简单同族
CN110364090A | TW201943993A | TWI672466B | US20190319064A1
简单同族成员数量
4
简单同族被引用专利总数
0
诉讼案件数
0
法律状态/事件
实质审查 | 权利转移
抱歉,您的浏览器不支持PDF预览,请点击链接下载PDF文件