专利数据库
统计分析
产业报告
专利数据监控
产业人才
行业动态
产业政策法规
维权援助
个人中心
详情
文本
图像
标题
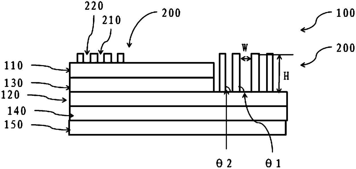
显示装置及其发光二极管芯片
授权日
2018-10-26
公开(公告)号
CN208014728U
申请日
2018-03-29
公开(公告)日
2018-10-26
当前申请(专利权)人
昆山工研院新型平板显示技术中心有限公司 | 昆山国显光电有限公司
发明人
邢汝博 | 韦冬 | 杨小龙 | 刘会敏
简单同族
CN208014728U | TW201841359A | WO2019184197A1
简单同族成员数量
3
简单同族被引用专利总数
0
诉讼案件数
0
法律状态/事件
授权
抱歉,您的浏览器不支持PDF预览,请点击链接下载PDF文件