专利数据库
统计分析
产业报告
专利数据监控
产业人才
行业动态
产业政策法规
维权援助
个人中心
详情
文本
图像
标题
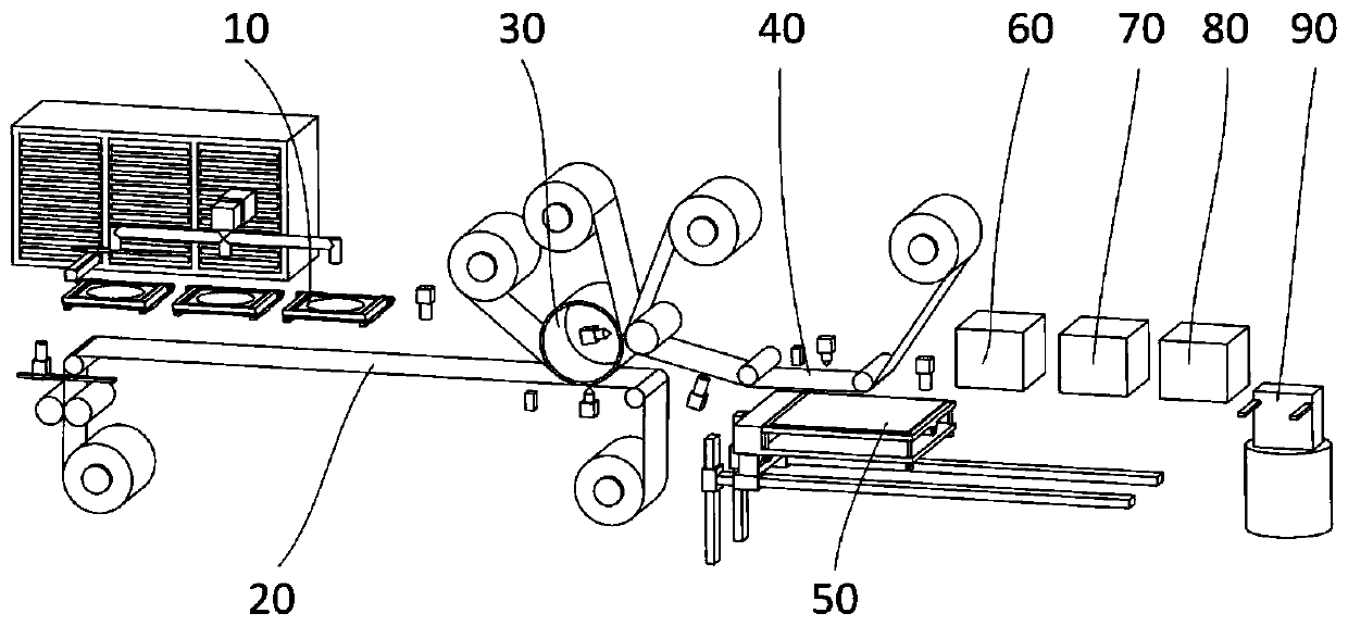
一种基于卷绕工艺的微器件激光剥离巨量转移装置及方法
授权日
2020-01-03
公开(公告)号
CN109244196B
申请日
2018-08-29
公开(公告)日
2020-01-03
当前申请(专利权)人
华中科技大学
发明人
陈建魁 | 尹周平 | 金一威
简单同族
CN109244196A | CN109244196B | WO2020042744A1
简单同族成员数量
3
简单同族被引用专利总数
1
诉讼案件数
0
法律状态/事件
授权
抱歉,您的浏览器不支持PDF预览,请点击链接下载PDF文件