专利数据库
统计分析
产业报告
专利数据监控
产业人才
行业动态
产业政策法规
维权援助
个人中心
详情
文本
图像
标题
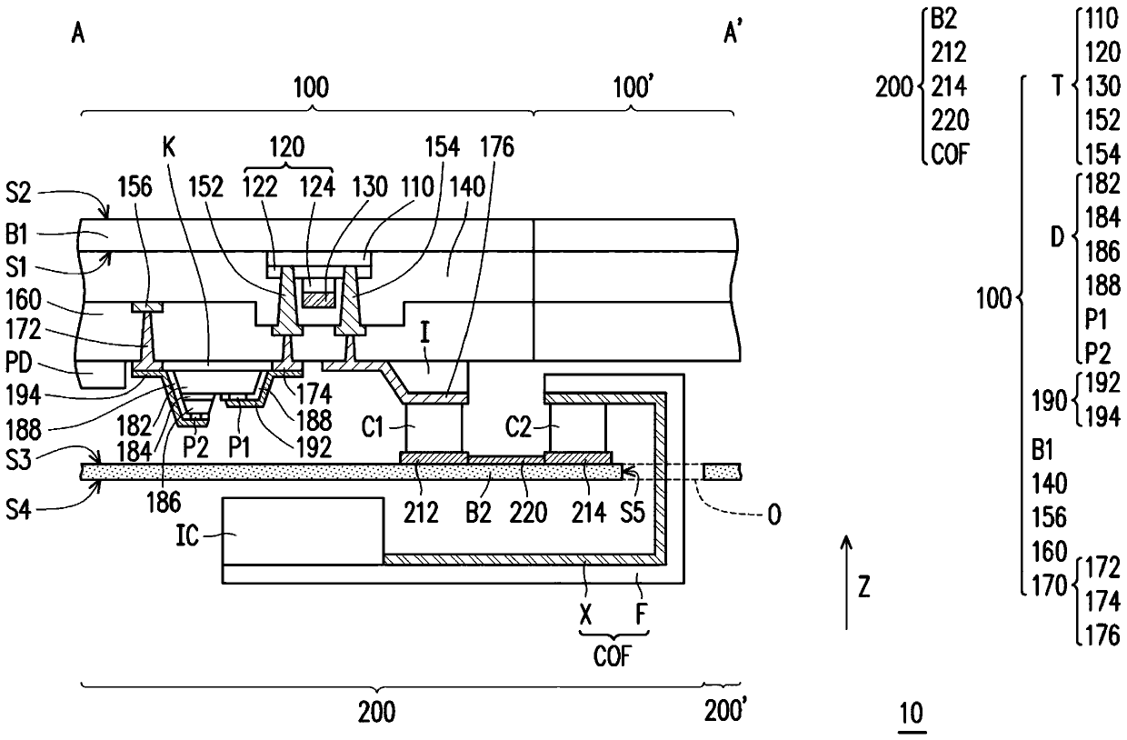
显示模块与显示装置
授权日
2020-03-20
公开(公告)号
CN108597377B
申请日
2018-04-28
公开(公告)日
2020-03-20
当前申请(专利权)人
友达光电股份有限公司
发明人
吕绍平 | 谢嘉定 | 郭家玮
简单同族
CN108597377A | CN108597377B | TW201935100A | TWI662334B
简单同族成员数量
4
简单同族被引用专利总数
2
诉讼案件数
0
法律状态/事件
授权
抱歉,您的浏览器不支持PDF预览,请点击链接下载PDF文件